• 1/2.5" CMOS матрица 5 Мп, разрешение 2560 × 1944
• Фиксированный объектив 2.8 мм, 3.6 мм, 6 мм
• Интеллектуальная ИК-подсветка, дальность ИК-подсветки до 40 м
• Видеовыход 4-в-1 (переключаемые TVI/AHD/CVI/CVBS)
• IP67
Подсветка EXIR – инновационное решение для качественной ночной съемки
Технология подсветки EXIR – это технология ИК-подсветки, которая базирует на использовании передовых тонкопленочных светоизлучающих элементов. Подобная комбинация будет отличаться оптимальными преимуществами, если сравнивать с привычной для человека LED-подсветкой. Среди преимуществ технологии можно выделить:
• невероятная дальность работы при аналогичном уровне потребления энергии, что связано с повышенной мощностью излучения подсветки;
• минимум энергопотребления – в два раза меньше требует энергии при выше эффективности работы;
• длительный срок эксплуатации – во время использования светодиодной подсветки, ее характеристики существенно начинают ухудшаться по истечению времени, она начинает выгорать, элементы подсветки EXIR надежно защищены от подобного результата;
• равномерно распределяется в кадре – излучение оптимизируется по уровню яркости, поэтому изображение сразу же становится однородным без специфической засветки;
• большой уровень эффективности – прямоугольная линза будет формироваться и концентрироваться на площади в соответствии с форматом 16:9 или 4:3.
Все это будет способствовать, что вы получите действительно качественное изображение в ночное время суток, позволяющее без проблем рассмотреть все произошедшее.
Характеристики:
Камера
• Матрица: 1/2.5 Progressive Scan CMOS 5 Мп
• Стандарт передачи сигнала: PAL/NTSC
• Разрешение: 2560 × 1944
• Частота кадров:
- TVI: 5 Мп @ 20 к/с, 4 Мп @ 30 к/с, 4 Мп @ 25 к/с, 1080P @ 30 к/с, 1080P @ 25 к/с
- CVI: 4 Мп @ 30 к/с, 4 Мп @ 25 к/с
- AHD: 5 Мп @ 20 к/с, 4 Мп @ 30 к/с, 4 Мп @ 25 к/с
- CVBS: PAL/NTSC
• Чувствительность: 0.01лк @(F1.2, AGC вкл.), 0лк с вкл ИК
• Электронный затвор: 1/25с ~ 1/50,000с
• Объектив: Фиксированный объектив 2.8 мм, 3.6 мм, 6 мм
• Крепление объектива: М12
• Угол обзора:
- 2.8 мм, по горизонтали: 85°, по вертикали: 63°, по диагонали: 110°
- 3.6 мм, по горизонтали: 80°, по вертикали: 63°, по диагонали: 105°
- 6 мм, по горизонтали: 57°, по вертикали: 43°, по диагонали: 72°
• Регулировка угла установки: Поворот: 0 - 360°, Наклон: 0 - 90°, Вращение: 0 - 360°
• Режим «День/ночь»: Механический ИК-фильтр
• Отношение "сигнал-шум" : >62дБ
• Видеовыход: Переключаемые TVI/AHD/CVI/CVBS
OSD-меню
• Режим изображения: STD/HIGH-SAT
• WDR: Цифровой DWDR
• AGC: Поддерживается
• Переключение «день/ночь»: Цвет/ ЧБ / Авто
• Баланс белого: Авто/ Вручную
• Режим экспозиции (автоматич.): DWDR/BLC/HLC/Глобальн
• Язык: Английский
• Функции: Яркость, резкость, зеркалирование, интеллектуальная ИК-подсветка
Основное
• Питание: DC12В±25%
• Потребляемая мощность: 4.3Вт макс.
• Рабочие условия: -40°С — 60°С, влажность 90% или меньше (без конденсата)
• Влагозащита: IP67
• Дальность действия ИК: до 40 м
• Протокол: HIKVISION-C
• Материал корпуса: Передняя часть корпуса: металл, Основная часть: пластик
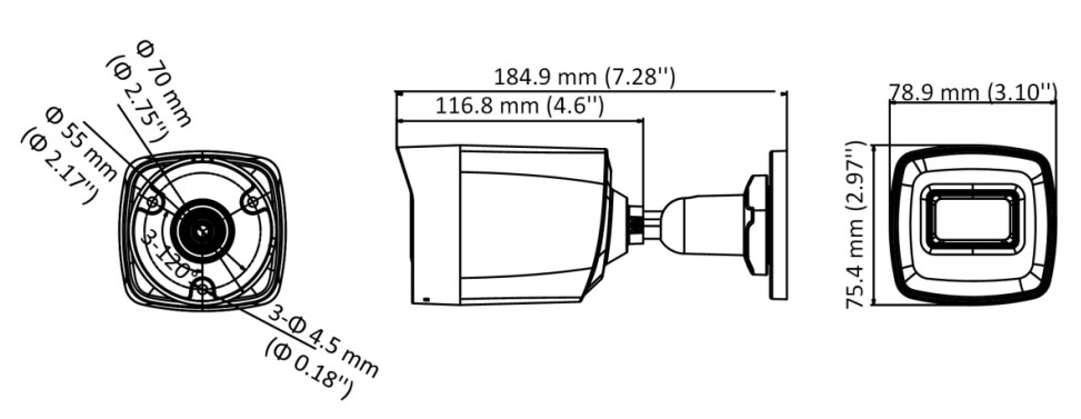
• Размеры: 78.9 × 75.4 × 184.9 мм
• Вес: 304 гр.
Бренд камеры | HiWatch |
Тип камеры | Цилиндрическая |
Вид камеры | HD-TVI |
Исполнение | Уличное |
Тип матрицы | CMOS |
Физический размер матрицы | 1/2.5 дюйма |
Объектив | С фиксированным фокусным расстоянием |
Фокусное расстояние | 6 мм |
Угол обзора | 57° |
Максимальный угол обзора, ° | 57 |
Настройка угла обзора камеры | Поворот: 360°; Наклон: 0-90°; Вращение: 0-360° |
Количество мегапикселей | 5 Мп |
Максимальное разрешение, Пиксель | 2560 x 1944 |
Частота кадров при максимальном разрешении | 20 к/с |
Чувствительность | Цвет: 0.01лк@F1.2; Ч/б: 0лк (c ИК) |
Минимальная освещенность, Лк | 0.01 |
Выдержка затвора | 1/25 - 1/50 000 сек |
Крепление объектива | M12 |
Диафрагма | Нет информации |
Управление фокусом | Фиксированно |
Управление приближением | Нет информации |
Тип подсветки | С подсветкой, EXIR |
Дальность подсветки, м | 40 |
Режим День/Ночь | Механический ИК-фильтр с автопереключением |
Карты памяти SD | Без SD карты |
Поддерживаемая видеоаналитика | Нет информации |
Стандарт ONVIF | Не поддерживается |
Улучшение изображения | D-WDR (цифровой), AGC, BLC, HLC, DNR, AWB |
Аудио | Нет |
Встроенный микрофон | Нет |
Встроенный динамик | Нет |
Тревожные входы | Нет |
Тревожные выходы | Нет |
Встроенный нагреватель | Нет |
Напряжение питания | 12 В |
Источник питания | Внешний адаптер (в комплект не входит) |
Потребляемая мощность, макс. | 4.3 Вт |
Габариты | 78.9х75.4х184.9 мм |
Вес, кг | 0.3 |
Рабочая температура | от -40°C до +60°C |
Рабочая влажность | не выше 90% без конденсации |
Класс защиты IP | IP67 |
Цвет | Белый |
Гарантия | 2 года |
Страна производства | Китай |
Функция «Быстрый заказ» позволяет покупателю не проходить всю процедуру оформления заказа самостоятельно. Вы заполняете форму, и через короткое время вам перезвонит менеджер магазина. Он уточнит все условия заказа, ответит на вопросы, касающиеся качества товара, его особенностей. А также подскажет о вариантах оплаты и доставки.
По результатам звонка, пользователь либо, получив уточнения, самостоятельно оформляет заказ, укомплектовав его необходимыми позициями, либо соглашается на оформление в том виде, в котором есть сейчас. Получает подтверждение на почту или на мобильный телефон и ждёт доставки.
Оформление заказа в стандартном режиме
Если вы уверены в выборе, то можете самостоятельно оформить заказ, заполнив по этапам всю форму.
Заполнение адреса
Выберите из списка название вашего региона и населённого пункта. Если вы не нашли свой населённый пункт в списке, выберите значение «Другое местоположение» и впишите название своего населённого пункта в графу «Город». Введите правильный индекс.
Доставка
В зависимости от места жительства вам предложат варианты доставки. Выберите любой удобный способ. Подробнее об условиях доставки читайте в разделе «Доставка».
Оплата
Выберите оптимальный способ оплаты. Подробнее о всех вариантах читайте в разделе «Оплата»
Покупатель
Введите данные о себе: ФИО, адрес доставки, номер телефона. В поле «Комментарии к заказу» введите сведения, которые могут пригодиться курьеру, например: подъезды в доме считаются справа налево.
Оформление заказа
Проверьте правильность ввода информации: позиции заказа, выбор местоположения, данные о покупателе. Нажмите кнопку «Оформить заказ».
Наш сервис запоминает данные о пользователе, информацию о заказе и в следующий раз предложит вам повторить к вводу данные предыдущего заказа. Если условия вам не подходят, выбирайте другие варианты.
Если Вы хотите узнать об условиях доставки и оплаты, но не желаете о них читать, то Вы можете позвонить любому нашему сотруднику, и он обязательно Вам поможет.
Покупка за безналичный расчет
При оплате за безналичный расчет наш сотрудник свяжется с Вами, чтобы подтвердить заказ и уточнить сроки и адрес доставки. После оформления заказа сотрудник нашей компании вышлет вам счет, по которому необходимо будет произвести оплату.
После оплаты заказа к Вам приедет наш курьер, который доставит ваш заказ.
Самостоятельно забрать заказ из пунктов самовывоза Вы можете после его оплаты по безналичному расчету. Оплата доставки до пунктов выдачи транспортных компаний производится по тарифам выбранной Вами транспортной компании непосредственно в месте получения заказа.
Самовывоз из офиса нашей компании в Зеленограде, так же возможен после предоплаты по безналичному расчету, и предварительной договоренности с менеджером.
Интернет-магазин выполняет доставку любого товара своей собственной Службой доставки.
Стоимость доставки курьером
Стоимость доставки по Москве, Все товары —750 руб., бесплатная доставка от 25000 руб
Стоимость доставки по Московской области рассчитывается для каждого заказа индивидуально и зависит от суммарного веса товаров заказа и удаленности адреса доставки.
Время доставки
Время доставки согласовывается с менеджером Службы доставки, который обязательно свяжется с вами сразу после того, как вы разместите свой заказ.
Для осуществления доставки в регионы России мы пользуемся услугами компаний СДЭК, ЖелДорЭкспедиция, Автотрейдинг, Деловые Линии. В таком случае, указанными кампаниями взимается стоимость доставки по их внутренним тарифам с заказчика при получении товара.
Самовывоз
Забрать товар самостоятельно и абсолютно бесплатно можно только по адресу: Москва, Зеленоград, Панфиловский проспект, дом 10.
Забрать товар самовывозом можно по любому из адресов самовывоза указанных здесь, стоимость доставки до пункта самовывоза рассчитывается для каждого заказа по тарифам транспортных компаний.









