Калитка двухсторонняя, при этом может работать и как односторонняя. Открывается как по часовой стрелке, так и против в зависимости от подаваемой команды. При заказе односторонней калитки на вставке дуги с одной стороны изображен знак разрешения (стрелка), с другой стороны - знак запрета ("кирпич") прохода. Правосторонняя калитка открывается по часовой стрелке при виде сверху (стойка калитки при проходе остается справа), левосторонняя калитка открывается против часовой стрелки при виде сверху (стойка калитки при проходе остается слева).
Преимуществами калиток серии К32Д являются:
• Высокая долговечность благодаря встроенному гидродоводчику
• Плавность и бесшумность работы
• Калитка может работать как от пульта, так и от системы контроля доступа, при этом система контроля доступа может быть поставлена с калиткой как опция
• Корпус калитки может быть изготовлен из стали, окрашенной порошковым методом в любой цвет по RAL (стандартный цвет – «серебряный антик»), преграждающие дуги - хромированные или из нержавеющей стали
• Может комплектоваться ограждениями, выполненными с ней в едином дизайне
• Блокировка прохода с помощью электромагнитного стопора и подача тревожного звукового сигнала при попытке несанкционированного прохода
• Возможность установки механического замка под английский ключ в положении дуги «проход закрыт», или «проход открыт», или в обоих этих положениях
Калитка управляется с пульта дистанционного управления (ПДУ) и обеспечивает пропуск как по одному человеку, так и группы людей, кроме того, она может быть встроена в систему контроля и управления доступом (СКУД), для чего предусмотрены специальные входные и выходные цепи (см. раздел 7 «Сопряжение и работа со СКУД»). По условиям применения калитка К32Д соответствует группе УХЛ 4.2 по ГОСТ 15150-69 и предназначена для эксплуатации внутри помещения при температуре от +1°С до +50°С. Калитки К32Д-У и К32Д-Нерж соответствует группе УХЛ 2 по ГОСТ 15150-69 и предназначены для эксплуатации внутри и вне помещения под навесом при температуре от -30°С до +50°С.
Характеристики:
• Напряжение питания, В: 12±2
• Род тока: постоянный
• Потребляемый ток, не более, А: 1,5
• Масса калитки, кг: 37
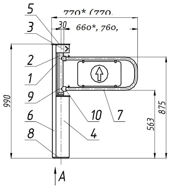
• Габаритные размеры (длина х ширина х высота), мм: 770*х220х990
• Ширина перекрытия прохода, мм : 770*
• Максимальная длина кабеля от калитки к ПДУ, м: 50(стандартная 4м)
• Допустимые статические усилия на середине преграждающей дуги, не более, кгс: 60
• Срок эксплуатации, лет: 8
Устройство и принцип работы
Калитка состоит из корпусной стойки 1, на которой смонтирован поворотный механизм 2. Поворотный механизм закрыт двумя съемными кожухами – верхним 3 и нижним 4, и верхней съемной крышкой 5. Кожух 4 устанавливается выдавленными пуклями в отверстия корпуса 1. Под кожухом 3 и крышкой 5 в верхней части стойки 1 находятся оптодатчики положения дуги и световые индикаторы. Индикаторы из двухцветных светодиодов (зеленый свет означает разрешение прохода, красный-запрет) по дополнительному заказу могут быть выполнены в виде отдельного корпуса и устанавливаться на кабине или стене. Кожуха 3 и 4 закрываются с двух сторон декоративными уголками 6.
В средней части стойки 1 под кожухом 4 находится поворотный механизм 2 и электромагнит стопорения дуги калитки. С валом поворотного механизма 2 соединена дуга 7, которая служит для перекрытия прохода.
В нижней части стойки 1 под кожухом 4 расположено основание 8 для крепления калитки к полу и модуль IB v1.1 для соединения калитки с пультом дистанционного управления (ПДУ) и СКУД, здесь же находится болт заземления.

Дуга 7 вращается вместе с поворотным механизмом вокруг вертикальной оси стойки 1. Для прохода дуга открывается рукой, а после прохода возвращается в исходное положение, скорость возврата дуги регулируется (см. раздел 10 «Регулировки калитки»). Исходное – нормальное состояние калитки – «закрыто»; при этом механизм поворота не застопорен электромагнитом, и горит с двух сторон сигнализация красного цвета. Фиксация механизма поворота осуществляется подачей напряжения на электромагнит по сигналу от датчика исходного положения при несанкционированном проходе, при этом подается звуковой сигнал.
При подаче команды на разрешение прохода (охранником с ПДУ или автоматически от СКУД в случае, если потребитель ее установил) загорается зеленый цвет со стороны прохода. При неосуществление однократного прохода в течении 4 секунд калитка возвращается в исходное положение, т.е. загорается красный цвет с обеих сторон.
В случаях пожара, сигнала тревоги, проноса крупногабаритных грузов и т.д., для беспрепятственного прохода калитка открывается отключением питающего напряжения или переводом в режим группового прохода, а также допускается снятие дуги 7 с пальцами путем вывинчивания двух крепежных винтов 9 с тыльной стороны вала стойки.
Для удобства управления от ПДУ в блоке электронного управления (БЭУ) предусмотрена функция задержки времени на проход через калитку с принудительным сбросом по факту прохода.
Звуковая сигнализация нарушения правил прохода срабатывает при попытке прохода через калитку без разрешения, в этом случае калитка не только блокируется и не дает пройти, но и подает звуковой сигнал охране о попытке несанкционированного прохода. Звуковую сигнализацию можно отключать и включать трехкратным нажатием кнопки КН.ДОП на пульте дистанционного управления ПДУ.
Требования безопасности
Электрические схемы калиток и ПДУ изолированы от корпуса. При этом на них подается напряжение не выше 24В постоянного тока.
Корпус калиток необходимо заземлять. Клемма заземления находится под кожухом 4 в нижней части стойки.
Необходимо соблюдать общие правила электробезопасности при пользовании электрическими приборами.
Изготовитель не несет ответственности за ущерб, нанесенный в результате неправильной установки калитки, и отклоняет любые претензии, если установка выполнена не в соответствии с указаниями настоящей инструкции.
Запрещается вскрывать крышки калитки без предварительного отключения от сети.
Подготовка к работе и порядок установки
Распакуйте калитку и проверьте ее комплектность.
Сделайте разметку (вид А) в полу под крепежные (анкерные) болты по отверстиям основания 8, установив калитку на ее рабочее место. Подготовьте и закрепите крепежные (анкерные) болты.

Не затягивая болты, установите калитку с помощью отвеса в вертикальное положение. Отклонение от вертикали в боковых направлениях 1 должно быть не более 3мм/1000мм; в направлении 2 допускается наклон стойки в сторону дуги до 10мм/1000мм.
Закрепите болты на основании калитки.
Установите на место дугу 7 с пальцами и декоративными втулками установите в отверстия вала и закрепите крепежными винтами 9.
Заземлите корпус калитки.
Подсоедините кабель питания к источнику питания соблюдая полярность.
После завершения монтажа калитка готова к работе.
Сопряжение и работа со СКУД
Подключение турникета к контроллеру СКУД осуществляется в соответствии с таблицей через разъем XS2 модуля IB v1.1.

К контакту 9 разъема XS2 модуля IB v1.1 присоединить цепь «Общий» контроллера СКУД.
Управление турникетом осуществляется по цепям «СКУД1» и «СКУД2» посредством замыкания контактов 7 или 8 разъема XS2 модуля IB v1.1 на общий провод.
Сигналы, подаваемые на входы «СКУД1» и «СКУД2», должны иметь TTL-уровни. Данные сигналы также могут быть сформированы посредством нормально разомкнутых контактов реле или транзисторами включенными по схеме открытый коллектор (открытый сток). Длительность подаваемых сигналов для разблокировки турникета на вход и/или выход определяется контроллером СКУД. Направление входа и выхода остаются разблокированными пока цепи «СКУД1» и/или «СКУД2» соответственно замкнуты на общий провод.
Сигнал «Факт прохода» формируется при повороте проходящим человеком штанг турникета более чем на 60° переключением контактов реле для соответствующего направления прохода. Время, в течение которого контакты реле находятся в переключенном состоянии, составляет 0,6±0,05 сек.
Комплект поставки:
• Стойка калитки - 1 шт.
• Пульт дистанционного управления (ПДУ) - 1 шт.
• Паспорт. Руководство по эксплуатации - 1 шт.
Дуга с декоративной вставкой (створка) поставляется отдельно!
Бренд | Ростов-Дон |
Вид калитки | Полуростовая |
Исполнение | Уличное |
Тип калитки | Электромеханическая |
Направление поворота | В обе стороны |
Пульт управления | 1 шт. в комплекте |
Материал | Нержавеющая сталь |
Напряжение питания | 12 В |
Потребляемая мощность, макс. | 25 Вт |
Потребляемый ток, макс. | 1.5 А |
Габариты | 770×220×990 мм |
Ширина перекрываемого прохода | 770 мм |
Вес, кг | 37 |
Рабочая температура | от -30°C до +50°C |
Средний срок службы | Не менее 8 лет |
Сертификаты | Транспортной безопасности |
Гарантия | 2 года |
Страна производства | Россия |
Функция «Быстрый заказ» позволяет покупателю не проходить всю процедуру оформления заказа самостоятельно. Вы заполняете форму, и через короткое время вам перезвонит менеджер магазина. Он уточнит все условия заказа, ответит на вопросы, касающиеся качества товара, его особенностей. А также подскажет о вариантах оплаты и доставки.
По результатам звонка, пользователь либо, получив уточнения, самостоятельно оформляет заказ, укомплектовав его необходимыми позициями, либо соглашается на оформление в том виде, в котором есть сейчас. Получает подтверждение на почту или на мобильный телефон и ждёт доставки.
Оформление заказа в стандартном режиме
Если вы уверены в выборе, то можете самостоятельно оформить заказ, заполнив по этапам всю форму.
Заполнение адреса
Выберите из списка название вашего региона и населённого пункта. Если вы не нашли свой населённый пункт в списке, выберите значение «Другое местоположение» и впишите название своего населённого пункта в графу «Город». Введите правильный индекс.
Доставка
В зависимости от места жительства вам предложат варианты доставки. Выберите любой удобный способ. Подробнее об условиях доставки читайте в разделе «Доставка».
Оплата
Выберите оптимальный способ оплаты. Подробнее о всех вариантах читайте в разделе «Оплата»
Покупатель
Введите данные о себе: ФИО, адрес доставки, номер телефона. В поле «Комментарии к заказу» введите сведения, которые могут пригодиться курьеру, например: подъезды в доме считаются справа налево.
Оформление заказа
Проверьте правильность ввода информации: позиции заказа, выбор местоположения, данные о покупателе. Нажмите кнопку «Оформить заказ».
Наш сервис запоминает данные о пользователе, информацию о заказе и в следующий раз предложит вам повторить к вводу данные предыдущего заказа. Если условия вам не подходят, выбирайте другие варианты.
Если Вы хотите узнать об условиях доставки и оплаты, но не желаете о них читать, то Вы можете позвонить любому нашему сотруднику, и он обязательно Вам поможет.
Покупка за безналичный расчет
При оплате за безналичный расчет наш сотрудник свяжется с Вами, чтобы подтвердить заказ и уточнить сроки и адрес доставки. После оформления заказа сотрудник нашей компании вышлет вам счет, по которому необходимо будет произвести оплату.
После оплаты заказа к Вам приедет наш курьер, который доставит ваш заказ.
Самостоятельно забрать заказ из пунктов самовывоза Вы можете после его оплаты по безналичному расчету. Оплата доставки до пунктов выдачи транспортных компаний производится по тарифам выбранной Вами транспортной компании непосредственно в месте получения заказа.
Самовывоз из офиса нашей компании в Зеленограде, так же возможен после предоплаты по безналичному расчету, и предварительной договоренности с менеджером.
Интернет-магазин выполняет доставку любого товара своей собственной Службой доставки.
Стоимость доставки курьером
Стоимость доставки по Москве, Все товары —750 руб., бесплатная доставка от 25000 руб
Стоимость доставки по Московской области рассчитывается для каждого заказа индивидуально и зависит от суммарного веса товаров заказа и удаленности адреса доставки.
Время доставки
Время доставки согласовывается с менеджером Службы доставки, который обязательно свяжется с вами сразу после того, как вы разместите свой заказ.
Для осуществления доставки в регионы России мы пользуемся услугами компаний СДЭК, ЖелДорЭкспедиция, Автотрейдинг, Деловые Линии. В таком случае, указанными кампаниями взимается стоимость доставки по их внутренним тарифам с заказчика при получении товара.
Самовывоз
Забрать товар самостоятельно и абсолютно бесплатно можно только по адресу: Москва, Зеленоград, Панфиловский проспект, дом 10.
Забрать товар самовывозом можно по любому из адресов самовывоза указанных здесь, стоимость доставки до пункта самовывоза рассчитывается для каждого заказа по тарифам транспортных компаний.







