Комплект поставки
• Турникет: 1 шт.
• Пульт дистанционного управления: 1 шт.
• IP-контроллер СКУД «Сфинкс Е300»: 1 шт.
• Считыватель Matrix III MF: 2 шт.
• Диск с программным обеспечением Sphinx: 1 шт.
• Паспорт. Руководство по эксплуатации:1 экз.
Не входят в комплект поставки и заказываются отдельно
• блок питания
• преграждающие штанги
• аккумулятор
Видеообзор IP турникета Т9М1
Условия эксплуатации
По условиям применения уличный турникет соответствует группе УХЛ 2 по ГОСТ 15150-69 для эксплуатации внутри и вне помещения под навесом при температуре от -30°С до +50°С и относительной влажности до 98%.
Турникет уличного исполнения крашенный, при этом детали турникета оцинкованы для защиты от ржавчины, электроника дополнительно защищена лаком, может быть так же из нержавеющей стали (Т9М1-IP-Нерж).
При нахождении турникета в нерабочем состоянии (хранение и транспортирование, перерывы в работе): пределы температуры от -20 до + 50°C; относительная влажность до 98%. Наличие агрессивных газов и паров кислот в помещении недопустимо. По способу защиты человека от поражения электрическим током турникет относится к классу защиты I по ГОСТ 12.2.007.0-75. Турникет не предназначен для эксплуатации во взрывоопасных и пожароопасных зонах (по ПУЭ).
Технические характеристики:
• Считыватели: Matrix III MF
• Напряжение питания турникета, В: 12±2
• Род тока: постоянный
• Потребляемый ток, не более, А: 1,5
• Интерфейс связи: Ethernet
• Масса турникета, не более, кг: 40
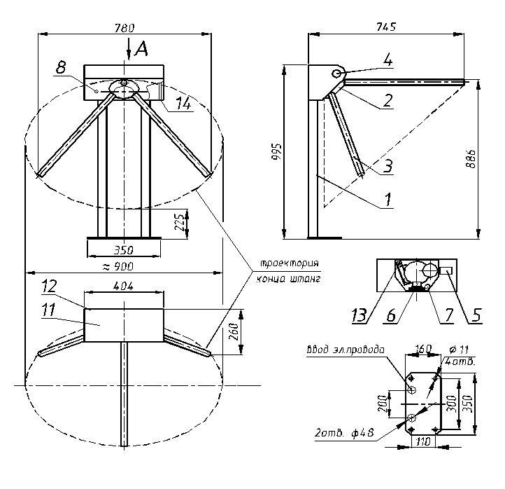
• Габаритные размеры без штанг (длина х ширина х высота), мм: 412 х 170 х 995
• Ширина перекрытия прохода, мм: 745
• Габаритные размеры в упаковке, мм: 1050х510х300
• Длина преграждающей штанги, стандартная: 595
• Пропускная способность для обученного персонала в режиме однократного прохода, человек в минуту: до 30
• То же в режиме группового прохода, человек в минуту: до 40
• Допустимые статические усилия на середине преграждающей штанги, не более, кгс: 100
• Средняя наработка на отказ, проходов, не менее: 2000000
• Срок эксплуатации, лет: 8
Устройство и принцип работы
Турникет состоит из следующих частей:
а) корпуса 1, поворотного механизма 2 с тремя штангами 3, двух индикаторов состояния турникета 4, стопорного механизма с электромагнитом 5, датчика положения механизма 6, гидравлического демпфера, обеспечивающего плавность хода
б) контроллера турникета;
в) двух считывателей бесконтактных карт – идентификаторов;
г) встроенного контроллера СКУД Е300; (контроллер турникета, датчик положения механизма и контроллер СКУД расположены
внутри турникета, для получения доступа к ним необходимо снять верхнюю крышку турникета).
д) пульта дистанционного управления – ПДУ.

В турникете предусмотрены отверстия для ввода кабеля: с тыльной стороны турникета и в основании – для случая, когда провода от турникета проходят под полом.
Процесс запирания прохода осуществляется ригелем электромагнита-соленоида. При санкционированном проходе, т.е. разрешении прохода оператором от пульта управления или от СКУД, запорное устройство не срабатывает - обеспечивается безударный способ поворота штанг. При разрешении прохода в какую-либо сторону, соответствующий индикатор изменяет свой цвет с красного на зеленый. При попытке несанкционированного прохода срабатывает соленоид и запирает проход.
Контроллер турникета.
Организует алгоритм работы, управляет механизмом турникета, обрабатывает информацию о положении штанг турникета, обеспечивает интерфейсы связи с внешними устройствами (пультом управления, контроллером СКУД).
Датчик положения штанг.
В турникете применена инновационная технология определения положения штанг турникета с использованием компактного магнитного энкодера.
Модуль индикации.
Отображает текущее состояние (разрешение/ запрет) прохода.
Пульт управления.
Служит для ручного управления турникетом. Светодиоды пульта управления отображают текущее состояние турникета.
Контроллер СКУД Е300 сетевой.
Организует связь с компьютером, работу со считывателями, обрабатывает их информацию, выдает команды турникету.
Программное обеспечение контроллера Е300 позволяет:
• Заведение карточек сотрудников.
• Автоматический импорт информации о сотрудниках из таблицы Excel.
• Управление доступом в режиме свой/чужой.
• Контроль повторных проходов («antipassback»).
• Фотоидентификацию (всплывающая фотография проходящих через турникет людей).
• Организацию любого количества удаленных рабочих мест (мест получения отчетов, просмотра событий в режиме реального времени). В том числе удаленные места могут присоединяться к серверу через сеть Интернет.
• Управление правами операторов системы (пользователей удаленных рабочих мест). Многоязычность (в настоящее время ПО работает на русском и английском языках, другие языки будут добавляться в кооперации с партнерами в соответствующих странах).
• Получение отчетов и их выгрузка в Excel:
- О сотрудниках.
- По проходам, совершенным «по карточке», «по кнопке» (санкционированным с пульта), по фактам запрета доступа.
- По местонахождению сотрудников на текущий момент и на любую историческую дату.
- По действиям операторов системы.
Блок питания.
Должен иметь выходное постоянное стабилизированное напряжение 12+/-2В с минимальной нагрузочной способностью 1,5 А.
В турникете имеется специальный вход для сигнала от устройств пожарной сигнализации, при срабатывании которой турникет разблокируется «на вход» и «на выход».
При отключении питания турникет переходит в режим свободного прохода в обе стороны.
Турникет обеспечивает работу в следующих режимах:
- режим ожидания;
- пропуск одного человека в заданном направлении;
- постоянно открыто в одном направлении;
- постоянно открыто в оба направления;
- режим тревоги.
- режим срабатывания пожарного шлейфа.
- режим калибровки.
Режим ожидания. В режиме ожидания поворотный механизм турникета находится в одном из трёх возможных исходных положений. Под исходным положением понимается устойчивое состояние механизма турникета, при котором одна из трёх штанг находится в верхнем горизонтальном положении и оба световых индикатора светятся красным. Стопорный механизм турникета разблокирован (электромагнит обесточен). При нажатии кнопок ПДУ или появлении активного уровня сигнала СКУД турникет переходит в другой режим работы (см. ниже).
Режим пропуска одного человека. Для пропуска одного человека необходимо нажать кнопку «КН.1» или «КН.2» соответствующего направления движения человека. При этом световой индикатор на соответствующей стороне турникета светится зелёным цветом. Разрешение на проход действительно в течение 4 секунд, если турникет находится в исходном положении (движение не начато). Повторное нажатие той же кнопки ПДУ «КН.1» или «КН.2» в исходном положении турникета приводит к снятию разрешения на пропуск человека.
В случае работы турникета со СКУД для пропуска одного человека СКУД должна выдать активный уровень сигнала «СКУД1» или «СКУД2» (см. п.7 «Сопряжение и работа со СКУД»), при этом разрешение на проход будет действовать всё время, пока сигналы «СКУД1» или «СКУД2» имеют активный уровень (0…0,7 В). Соответствующий световой индикатор будет зелёным.
При движении механизма турникета на угол до 60º в разрешённом направлении зелёное свечение индикатора сохраняется. При повороте на угол свыше 60º турникетом выдаётся сигнал для СКУД о факте прохода «Ф.ПР.». Вместе с выдачей сигнала «Ф.ПР.» изменяется цвет свечения индикатора с зелёного на красный. После того как механизм турникета займёт исходное положение, турникет перейдёт в режим ожидания.
Режим постоянно открытого турникета в одном направлении (групповой проход). Включение режима осуществляется с ПДУ нажатием комбинации кнопок «КН.ДОП» + «КН.1» для одного направления или «КН.ДОП» + «КН.2» для другого направления. Световой индикатор на соответствующей стороне турникета светится зелёным цветом. После включения режима в заданном направлении разрешен проход любого числа людей до сброса этого режима с ПДУ. При повороте механизма на угол более 60 град., считая от исходного положения, турникетом формируется сигнал «Ф.ПР.» о факте прохода для СКУД.
В этом режиме существует возможность переключения в режим пропуска одного человека навстречу постоянно открытому направлению как с помощью ПДУ, так и от СКУД. После завершения режима пропуска одного человека механизм достигает исходное положения, что приводит к переключению в режим постоянного открытия в прежнем направлении.
Вывод турникета из режима группового прохода осуществляется нажатием кнопки «КН.1» или «КН.2» ПДУ того же направления, что и разрешенный групповой проход.
Режим постоянно открытого турникета в обе стороны (групповой проход). Для открытия турникета в обе стороны необходимо нажать комбинацию клавиш «КН.ДОП» + «КН.1» + «КН.2» на ПДУ либо последовательно открыть постоянный проход в одном направлении (комбинация клавиш «КН.ДОП» + «КН.1») и в другом направлении (комбинация клавиш «КН.ДОП» + «КН.2»). Для вывода турникета из режима группового прохода необходимо нажать кнопки «КН.1» и «КН.2».
Режим тревоги. Турникет переходит в режим тревоги в следующих случаях:
- несанкционированное движение из исходного положения;
- движение в запрещённом направлении (навстречу разрешённому направлению);
При переходе турникета в режим тревоги включаются:
- стопорный механизм;
- звуковая сигнализация;
- световые индикаторы светятся красным цветом.
Режим тревоги может быть снят как с помощью ПДУ, так и автоматически в следующих случаях:
- при возобновлении движения механизма турникета в разрешённом направлении;
- если механизм турникета установлен в исходное положение, при этом турникет переходит в режим ожидания;
- одновременно нажаты и удерживаются кнопки «КН.1» и «КН.2» ПДУ, при этом оба световых индикатора будут светиться красным цветом, а звуковая сигнализация отключается. При снятии режима тревоги с ПДУ происходит отключение стопорного механизма, что позволяет поворачивать механизм в любом направлении до следующего исходного положения. В этом случае возможно перемещение механизма на 120º, при котором сигнал для СКУД о факте прохода выдаваться не будет.
Звуковое устройство (зуммер) можно отключать и включать троекратным нажатием кнопки «КН.ДОП» на ПДУ.
Режим срабатывания пожарного шлейфа. Пожарный шлейф можно подключить к клеммам обозначенным «GND» и «Вх2» модуля IB v1.1 предварительно убрав перемычку. При срабатывании пожарного шлейфа (разрыв цепи) происходит разблокировка турникета в обе стороны с индикацией зеленым цветом. Функция антивозврата отключена Выход из режима осуществляется восстановлением шлейфа и нажатием любой клавиши направления прохода.
Режим калибровки. Калибровка датчика угла поворота осуществляется заводом изготовителем. При необходимости калибровку можно осуществить в любой момент непосредственно на месте эксплуатации турникета. В процессе калибровки в энергонезависимую память турникета производиться запись абсолютных значений углов поворота штанг, соответствующих трем положениям штанг «проход перекрыт». Кнопка калибровки находиться внутри корпуса турникета возле модуля «BM v3.0». Перед началом калибровки убедитесь в том, что одна из штанг турникета находиться в положении «проход перекрыт». Для запуска процедуры калибровки необходимо включить питание турникета.
1. Кратковременно нажмите (удержание не более 1 с) и отпустите кнопку калибровки. Турникет переходит в режим калибровки. Включается прерывистый звуковой сигнал.
2. Дождитесь, когда индикация 5 в головной части турникета 6 для направления прохода 1 будет мигать зеленым цветом, а для направления прохода 2 мигать красным цветом.
3. Совершите проход в направлении 1, обозначенном мигающей зеленой индикацией. Штанги необходимо вращать плавно без рывков, не допускать вращения штанг в направлении противоположном началу движения. Запрещено препятствовать работе гидромеханического доводчика турникета после поворота штанги на угол больший 60°. Индикация в головной части турникета 6 для обоих направлений прохода мигает красным цветом.
4. Повторите пункты 2 и 3 еще два раза.
5. Дождитесь, когда турникет перейдет в исходное состояние «закрыто». Турникет готов к работе.
Процедуру калибровки можно прервать в любой момент, отключив питание турникета. Запись новых значений углов при этом в энергонезависимую память не производится.
Экстренные ситуации
В случаях пожара, сигнала тревоги, проноса крупногабаритных грузов и т.д. обеспечение свободного прохода в турникетах осуществляется следующими способами:
а) открыванием штанги «антипаника», если она установлена (см. п.6.4);
б) переводом турникета в режим группового прохода;
в) выключением турникета (прекращением подачи напряжения); турникет при этом автоматически разблокируется;
г) снятием штанг.
Механизм антивозврата (antipassback)
В турникете реализован запрет возврата проходящего человека после поступления в СКУД сигнала о факте прохода, который подается примерно на середине прохода через турникет. При этом блокируется возможность поворота штанг в обратном направлении так,
Что проходящий человек может продолжить проход только в начатом разрешенном направлении.
4.4.1 Функцию антивозврата можно отключить установкой перемычки между клеммами «GND» и «Вх1» модуля «IB v1.1».
Внимание! При отключении функции антивозврата производитель не гарантирует достоверность регистрации факта прохода через турникет, так как имеется возможность вернуться после фиксации его системой СКУД.

Подготовка к работе и порядок установки
Распакуйте турникет и проверьте его комплектность.
Подготовьте и закрепите специальные крепежные (анкерные) болты в соответствии с разметкой.

Установите турникет и закрепите его.
Внимание! Перед закреплением через технологические отверстия следует вывести из турникета все кабели (управления и питания) и убедиться, что ни один кабель не поврежден и не пережимается при установке.
Установите штанги. Для этого снимите крышку поворотного механизма, открутив винт М5. Закрепите штанги болтами М10, входящими в комплект штанг.
Для перевода штанги «антипаника» в положение «проход открыт» оттяните штангу в направлении А (от турникета) на 50-80 мм и поверните ее вниз (рис.2).
Закройте место крепления штанг крышкой.
Для правильной работы турникета необходимо установить его с ограждением прохода так, как показано на рис.3 (вид сверху).

Вместо ограждения прохода может быть стена, при этом конец штанги должен быть на расстоянии 20-50 мм от стены (при использовании штанги «антипаника» - 50-80 мм от стены).
Заземлите корпус турникета.
Контроллер СКУД турникета подключается к локальной сети через HUB с помощью кабеля UTP, выведенного наружу и снабженного стандартным разъемом 8P8C(RJ-45).
Подключите блок питания, соблюдая полярность, к турникету.
Питание турникета должно осуществляться от стабилизированного (рекомендуется использование бесперебойного) источника питания, обеспечивающего напряжение питания турникета от 10 до 14Вольт (номинальное 12В) при токе не менее 1,5 А.
Внимание! При превышении напряжения свыше 14 Вольт возможен выход турникета из строя, а при напряжении ниже 10 Вольт возможна нестабильная работа турникета.
В комплекте турникета поставляется провод питания типа ШВВП-2-0,5 длиной 4 метра. Подключение турникета допускается также проводами другого типа с медными проводниками сечением не менее 0,5 мм². В случаях применения проводов другой длины для подбора сечения кабеля необходимо пользоваться рекомендуемыми данными (см. паспорт).
Включите блок питания в сеть 220 Вольт, при этом механизм турникета должен быть в исходном состоянии (одна из штанг турникета находится в горизонтальном положении).
Подключите к локальной сети.
Контроллер СКУД турникета подключается к локальной сети через HUB с помощью кабеля UTP, выведенного наружу и снабженного стандартным разъемом 8P8C(RJ-45).
Проверьте работоспособность турникета.
Рекомендации по электромонтажу:
- не рекомендуется установка изделия на расстоянии менее 1 метра от мощных источников электрических помех;
- пересечение всех сигнальных кабелей кабелями других силовых установок допускается только под прямым углом;
- любые удлинения сигнальных кабелей производить только методом пайки;
Монтаж изделия должен выполняться сертифицированным персоналом.
Правила эксплуатации
Технические требования, соблюдение которых требуется по условиям безопасности, приведены в табл.

Перед включением турникета необходимо путем визуального осмотра проверить состояние кабелей и включить блок питания.
Включение электропитания должно производиться в исходном положении турникета, при котором одна из штанг занимает верхнее горизонтальное положение.
Порядок разборки турникета:
Для доступа к поворотному механизму 2, световым индикаторам 4, электромагниту 5, датчику положения 6, звуковому сигнализатору 7 нужно снять кожух 11, повернув оси прижимов 14, освобождая зацепы на крышке.
Смазка, периодическое обслуживание и регулировки.
При неблагоприятных условиях эксплуатации рекомендуется проводить следующие работы с периодичностью, зависящей от условий эксплуатации: смазывать литолом ось коромысла 13.
Внимание: запрещается смазывать сердечник электромагнита и запорный палец.
При эксплуатации не допускается:
- рывки и удары по преграждающим штангам, стойке турникета и индикаторам, так как возможно их механическое повреждение и деформация, а также возможен преждевременный выход из строя механизма турникета.
- использование абразивных и химически активных веществ (в том числе ацетона, бензина, растворителей, хлорсодержащих и кислотосодержащих моющих веществ) для очистки наружных поверхностей турникета; для ухода за турникетом рекомендуется периодически протирать наружные поверхности из хромированной и нержавеющей стали чистящим средством для хрома, а окрашенные поверхности – нейтральными или слабощелочными моющими средствами;
Основные функции бесплатного ПО:
• Заведение карточек сотрудников.
• Автоматический импорт информации о сотрудниках из таблицы Excel.
• Управление доступом в режиме свой/чужой.
• Контроль повторных проходов («antipassback»).
• Фотоидентификация (всплывающая фотография проходящих через турникет людей).
• Организация любого количества удаленных рабочих мест (мест получения отчетов, просмотра событий в режиме реального времени). В том числе удаленные места могут присоединяться к серверу через сеть Интернет.
• Управление правами операторов системы (пользователей удаленных рабочих мест).
• Многоязычность (в настоящее время ПО работает на русском и английском языках, другие языки будут добавляться в кооперации с партнерами в соответствующих странах).
• Получение отчетов и их выгрузка в Excel:
- О сотрудниках.
- По проходам, совершенным «по карточке», «по кнопке» (санкционированным с пульта), по фактам запрета доступа.
- По местонахождению сотрудников на текущий момент и на любую историческую дату.
- По действиям операторов системы.
Если на объекте требуется объединить в единую систему более чем один турникет или нужны дополнительные функции, то можно приобрести стандартное ПО «Сфинкс». При приобретении обычного ПО «Сфинкс» становятся доступны другие типичные для СКУД функции.
Системные требования
Конфигурация сервера
Обратите внимание, что при работе «Sigur» с функциями видеонаблюдения (трансляцией живого видео в наблюдении, записью стоп-кадров по событию и пр.) конфигурация сервера будет определяться требованиями систем видеонаблюдения и может существенно отличаться в сторону большей мощности.
• Процессор: не менее 1 ГГц.
• Память: не менее 2 Гб.
• Свободное место на жёстком диске: 300 Мб для инсталляции системы, плюс место под базу данных. Размер БД зависит от количества сотрудников, размера их фотографий и времени работы системы, т.к. со временем накапливается информация о событиях системы, новых режимах доступа и т.д. Ориентировочный объем, занимаемый данными на жёстком диске – 120 Мб на 1 000 000 произошедших событий.
• Не менее одного свободного USB порта (при наличии HASP-ключа аппаратной защиты).
• Источник бесперебойного питания с интерфейсом связи (USB или RS232).
• Разрешение монитора: не менее 1280*1024.
• При работе с большими БД (десятки миллионов проходов и более) – высокоскоростной жёсткий диск (SSD или RAID-массив).
Дополнительные требования при использовании встроенной в Sigur функции распознавания лиц:
Работа функции распознавания лиц требует уже заметных мощностей от сервера — к примеру, обработка одного кадра ядром процессором Intel Core I7 занимает порядка 200 мс (т. е. на одном ядре — около 5-ти кадров в секунду).
• Процессор: уровня Intel Core I7 и выше.
• Память: 8 ГБ и более при увеличении каналов распознавания
Пример для 4-х каналов:
• Процессор: 4.2 ГГц (например Intel Core I7).
• Память: не менее 8 Гб.
Конфигурация клиентского места
• Процессор: не менее 1 ГГц.
• Память: не менее 2 Гб.
• Свободное место на жёстком диске: не менее 300 Мб для инсталляции системы.
• Разрешение монитора: не менее 1280*1024.
Возможна установка клиентского и серверного ПО на один компьютер, при этом следует руководствоваться рекомендуемой конфигурацией для сервера.
Требования к операционной системе
• Установка сервера ПО «Sigur» производится на компьютеры под управлением операционной системы Windows (как 32, так и 64-битной): Windows 7 SP1, Windows Server 2008 R2 SP1 и более новых, а также Linux Debian (32-битной).
• Установка клиентской части ПО «Sigur» производится на компьютеры под управлением операционной системы Windows (как 32, так и 64-битной): Widows XP SP3, 2003 Server SP2 и более новых, а также Linux Debian (32–битной).
Возможны произвольные комбинации сервера и рабочих мест под управлением разных ОС (например, сервер на Linux, часть клиентов — также на Linux, а другая часть — на Windows).
Независимо от типа используемой операционной системы, необходима установка на неё последних обновлений, выпущенных производителем ОС – компанией Microsoft. Например, для Windows XP это сервис–пак SP3.
Бренд турникета | Ростов-Дон |
Вид турникета | Турникет со встроенным контроллером |
Тип турникета | Трипод |
Тип корпуса турникета | Однопроходной, Напольный |
Тип привода турникета | Электромеханический |
Исполнение турникета | Уличное (под навесом) |
Материал корпуса турникета | Окрашенная сталь |
Преграждающие планки/створки | По выбору, приобретаются отдельно |
Тип блокировки | Нормально открытый (НО) |
Встроенный картоприемник | Нет |
Встроенные считыватели | Бесконтактные |
Пропускная способность | 30-50 чел/мин |
Количество событий | 40 000 |
Количество пользователей /карт | 7 000 |
Пульт управления | 1 шт. в комплекте |
Сетевой интерфейс | Ethernet 10/100M |
Напряжение питания | 12 В |
Источник питания | В комплект НЕ ВХОДИТ! (приобретается отдельно) |
Потребляемый ток, макс. | 1.5 А |
Габариты | 745x780x995 мм |
Габариты без штанг | 180х404х995 мм |
Ширина перекрываемого прохода | 745 мм |
Вес, кг | 32 |
Рабочая температура | от -20°C до +50°C |
Цвет | Металл |
Средний срок службы | Не менее 8 лет |
Стыковка со СКУД | Любые типы СКУД |
Программное обеспечение в комплекте | Есть |
Сертификаты | Транспортной безопасности |
Гарантия | 2 года |
Страна производства | Россия |
Функция «Быстрый заказ» позволяет покупателю не проходить всю процедуру оформления заказа самостоятельно. Вы заполняете форму, и через короткое время вам перезвонит менеджер магазина. Он уточнит все условия заказа, ответит на вопросы, касающиеся качества товара, его особенностей. А также подскажет о вариантах оплаты и доставки.
По результатам звонка, пользователь либо, получив уточнения, самостоятельно оформляет заказ, укомплектовав его необходимыми позициями, либо соглашается на оформление в том виде, в котором есть сейчас. Получает подтверждение на почту или на мобильный телефон и ждёт доставки.
Оформление заказа в стандартном режиме
Если вы уверены в выборе, то можете самостоятельно оформить заказ, заполнив по этапам всю форму.
Заполнение адреса
Выберите из списка название вашего региона и населённого пункта. Если вы не нашли свой населённый пункт в списке, выберите значение «Другое местоположение» и впишите название своего населённого пункта в графу «Город». Введите правильный индекс.
Доставка
В зависимости от места жительства вам предложат варианты доставки. Выберите любой удобный способ. Подробнее об условиях доставки читайте в разделе «Доставка».
Оплата
Выберите оптимальный способ оплаты. Подробнее о всех вариантах читайте в разделе «Оплата»
Покупатель
Введите данные о себе: ФИО, адрес доставки, номер телефона. В поле «Комментарии к заказу» введите сведения, которые могут пригодиться курьеру, например: подъезды в доме считаются справа налево.
Оформление заказа
Проверьте правильность ввода информации: позиции заказа, выбор местоположения, данные о покупателе. Нажмите кнопку «Оформить заказ».
Наш сервис запоминает данные о пользователе, информацию о заказе и в следующий раз предложит вам повторить к вводу данные предыдущего заказа. Если условия вам не подходят, выбирайте другие варианты.
Если Вы хотите узнать об условиях доставки и оплаты, но не желаете о них читать, то Вы можете позвонить любому нашему сотруднику, и он обязательно Вам поможет.
Покупка за безналичный расчет
При оплате за безналичный расчет наш сотрудник свяжется с Вами, чтобы подтвердить заказ и уточнить сроки и адрес доставки. После оформления заказа сотрудник нашей компании вышлет вам счет, по которому необходимо будет произвести оплату.
После оплаты заказа к Вам приедет наш курьер, который доставит ваш заказ.
Самостоятельно забрать заказ из пунктов самовывоза Вы можете после его оплаты по безналичному расчету. Оплата доставки до пунктов выдачи транспортных компаний производится по тарифам выбранной Вами транспортной компании непосредственно в месте получения заказа.
Самовывоз из офиса нашей компании в Зеленограде, так же возможен после предоплаты по безналичному расчету, и предварительной договоренности с менеджером.
Интернет-магазин выполняет доставку любого товара своей собственной Службой доставки.
Стоимость доставки курьером
Стоимость доставки по Москве, Все товары —750 руб., бесплатная доставка от 25000 руб
Стоимость доставки по Московской области рассчитывается для каждого заказа индивидуально и зависит от суммарного веса товаров заказа и удаленности адреса доставки.
Время доставки
Время доставки согласовывается с менеджером Службы доставки, который обязательно свяжется с вами сразу после того, как вы разместите свой заказ.
Для осуществления доставки в регионы России мы пользуемся услугами компаний СДЭК, ЖелДорЭкспедиция, Автотрейдинг, Деловые Линии. В таком случае, указанными кампаниями взимается стоимость доставки по их внутренним тарифам с заказчика при получении товара.
Самовывоз
Забрать товар самостоятельно и абсолютно бесплатно можно только по адресу: Москва, Зеленоград, Панфиловский проспект, дом 10.
Забрать товар самовывозом можно по любому из адресов самовывоза указанных здесь, стоимость доставки до пункта самовывоза рассчитывается для каждого заказа по тарифам транспортных компаний.


