Особенности
• Настенный трёхштанговый турникет с сервоприводом
• Корпуса и штанги - шлифованная нержавеющая сталь
• Возможна установка системы Анти-паника (дополнительная опция)
• Подходит для уличной установки (дополнительная опция)
• Питание 230 VAC
• В комплекте блок питания
Пульт управления доступом не входит в комплект поставки и приобретается отдельно.
Линейка полуростовых трехштанговых турникетов Cominfo BAR подходит для установки как внутри, так и снаружи здания. Долгий срок работы данных турникетов можно объяснить качеством сборки и надежностью механизма. Есть возможность выбора внешнего вида турникета, что позволяет подобрать модель к любому дизайну интерьера.
Турникеты BAR – классический и безопасный способ защиты Вашего помещения. Турникеты BAR оснащены тихим мотором с мягким ходом, что обеспечивает адаптацию к скорости прохождения пользователей.
Безопасность и обеспечение безопасности
• Автоматический контроль прохода в двух направлениях
• Датчик перепрыгивания – подлезания турникета (дополнительная опция)
• Режим постоянной блокировки
• Режим аварийного опускания штанги (дополнительная опция)
Стандартное оснащение Cominfo BAR EK-Wall
• Возможность прохода в двух направлениях
• GoCall – функция приглашения при разрешении прохода (отклонение штанги по направлению прохода)
Механизм привода
• Fail-Safe разблокированный при отключении питания
Условия эксплуатации
• В помещении -25°C до +60°C
• На открытом воздухе нужна защита от осадков в виде крыши (дополнительная опция)
Дополнительные опции
• Бесконтактный RFID считыватель карт (накладной/встроенный)
• Функция аварийного опускания штанги при экстренных ситуациях
• Индикация направления прохода
• Уличный пакет
• WAV плеер
• USB конвертер / конвертер локальных сетей
• Инфракрасные датчики AntiClimb
• Сенсорный пульт управления EasyTouch / TouchPanel кнопочная панель управления / T-MON программное обеспечение для программирования режимов работы турникета
• SuperCup блок аварийной разблокировки
• Дополнительные варианты отделки верхней части турникета
• Резиновый защитный демпфер для штанги
• Мобильный подиум
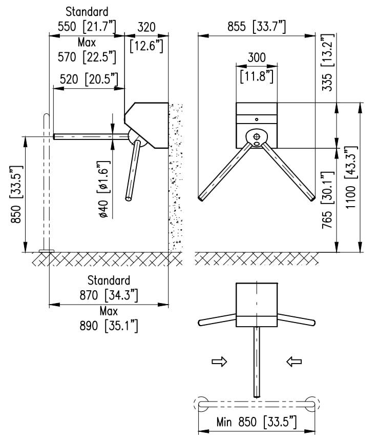
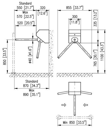
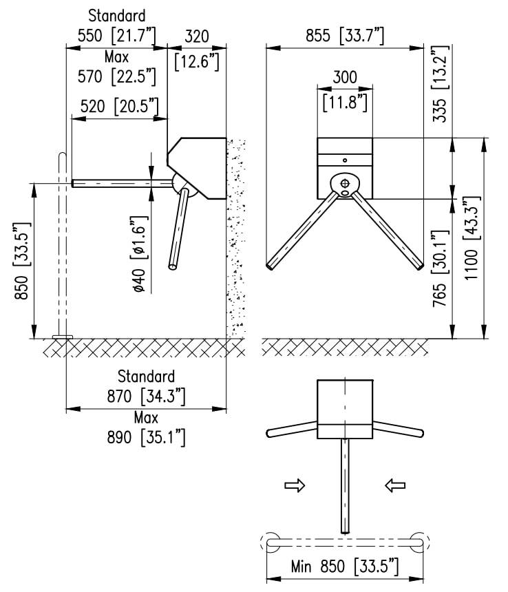
Размеры и материалы
• Высота: 335 мм
• Длина: 300 мм
• Ширина: 320 мм
• Максимальная ширина прохода: макс. 570 мм
• Корпус: полированная нержавеющая сталь
• Верхняя панель: полированная нержавеющая сталь
• Ограничитель: три штанги / полированная нержавеющая сталь

Технические характеристики COMINFO BAR EK-Wall:
• Общее описание: Низкая высота. Трехштанговый турникет. Без опоры
• Уровень безопасности: Низкий
• Установки при потере мощности двигателя: Fail-Safe. Fail-Secure (при блокировании): по запросу
• Стандартный материал исполнения: матовая нержавеющая сталь
• Дополнительные варианты покрытия: -
• Экстренная ситуация / Отключение питания: Fail-safe (по умолчанию) / Функция свободного доступа или опускания штанги
• Световая индикация (опция): По одному в каждом направлении
• Резервное питание: 13.8 Вт
• Напряжения для работы турникета: 24 В, 115 В, 230 В
• Возможные типы ограждения: Штанга из нержавеющей стали
• Условия установки: В помещении. На улице под крышей
• Ширина прохода: 570 мм
Бренд турникета | Cominfo |
Вид турникета | Турникет |
Тип турникета | Трипод |
Тип корпуса турникета | Однопроходной, Навесной |
Тип привода турникета | Электромоторный |
Исполнение турникета | Уличное (под навесом) |
Материал корпуса турникета | Нержавеющая сталь |
Преграждающие планки/створки | Стандартные, в комплекте |
Тип блокировки | Нормально закрытый (НЗ), Нормально открытый (НО) |
Встроенный картоприемник | Нет |
Встроенные считыватели | Без считывателей |
Пульт управления | Приобретается отдельно |
Напряжение питания | 230 В |
Ширина перекрываемого прохода | 870 мм |
Ширина прохода | 570 мм |
Рабочая температура | от -25°C до +60°C |
Стыковка со СКУД | Любые типы СКУД |
Гарантия | 2 года |
Страна производства | Чехия |
Функция «Быстрый заказ» позволяет покупателю не проходить всю процедуру оформления заказа самостоятельно. Вы заполняете форму, и через короткое время вам перезвонит менеджер магазина. Он уточнит все условия заказа, ответит на вопросы, касающиеся качества товара, его особенностей. А также подскажет о вариантах оплаты и доставки.
По результатам звонка, пользователь либо, получив уточнения, самостоятельно оформляет заказ, укомплектовав его необходимыми позициями, либо соглашается на оформление в том виде, в котором есть сейчас. Получает подтверждение на почту или на мобильный телефон и ждёт доставки.
Оформление заказа в стандартном режиме
Если вы уверены в выборе, то можете самостоятельно оформить заказ, заполнив по этапам всю форму.
Заполнение адреса
Выберите из списка название вашего региона и населённого пункта. Если вы не нашли свой населённый пункт в списке, выберите значение «Другое местоположение» и впишите название своего населённого пункта в графу «Город». Введите правильный индекс.
Доставка
В зависимости от места жительства вам предложат варианты доставки. Выберите любой удобный способ. Подробнее об условиях доставки читайте в разделе «Доставка».
Оплата
Выберите оптимальный способ оплаты. Подробнее о всех вариантах читайте в разделе «Оплата»
Покупатель
Введите данные о себе: ФИО, адрес доставки, номер телефона. В поле «Комментарии к заказу» введите сведения, которые могут пригодиться курьеру, например: подъезды в доме считаются справа налево.
Оформление заказа
Проверьте правильность ввода информации: позиции заказа, выбор местоположения, данные о покупателе. Нажмите кнопку «Оформить заказ».
Наш сервис запоминает данные о пользователе, информацию о заказе и в следующий раз предложит вам повторить к вводу данные предыдущего заказа. Если условия вам не подходят, выбирайте другие варианты.
Если Вы хотите узнать об условиях доставки и оплаты, но не желаете о них читать, то Вы можете позвонить любому нашему сотруднику, и он обязательно Вам поможет.
Покупка за безналичный расчет
При оплате за безналичный расчет наш сотрудник свяжется с Вами, чтобы подтвердить заказ и уточнить сроки и адрес доставки. После оформления заказа сотрудник нашей компании вышлет вам счет, по которому необходимо будет произвести оплату.
После оплаты заказа к Вам приедет наш курьер, который доставит ваш заказ.
Самостоятельно забрать заказ из пунктов самовывоза Вы можете после его оплаты по безналичному расчету. Оплата доставки до пунктов выдачи транспортных компаний производится по тарифам выбранной Вами транспортной компании непосредственно в месте получения заказа.
Самовывоз из офиса нашей компании в Зеленограде, так же возможен после предоплаты по безналичному расчету, и предварительной договоренности с менеджером.
Интернет-магазин выполняет доставку любого товара своей собственной Службой доставки.
Стоимость доставки курьером
Стоимость доставки по Москве, Все товары —750 руб., бесплатная доставка от 25000 руб
Стоимость доставки по Московской области рассчитывается для каждого заказа индивидуально и зависит от суммарного веса товаров заказа и удаленности адреса доставки.
Время доставки
Время доставки согласовывается с менеджером Службы доставки, который обязательно свяжется с вами сразу после того, как вы разместите свой заказ.
Для осуществления доставки в регионы России мы пользуемся услугами компаний СДЭК, ЖелДорЭкспедиция, Автотрейдинг, Деловые Линии. В таком случае, указанными кампаниями взимается стоимость доставки по их внутренним тарифам с заказчика при получении товара.
Самовывоз
Забрать товар самостоятельно и абсолютно бесплатно можно только по адресу: Москва, Зеленоград, Панфиловский проспект, дом 10.
Забрать товар самовывозом можно по любому из адресов самовывоза указанных здесь, стоимость доставки до пункта самовывоза рассчитывается для каждого заказа по тарифам транспортных компаний.













