Для обеспечения удобного и быстрого прохода людей рекомендуется устанавливать по одному турникету на каждых 500 человек, работающих в одну смену.
Комплект поставки:
• Турникет: 1 шт.
• Крышка основания: 1 шт.
• Преграждающие планки: 3 шт.
• Пульт управления с кабелем: 1 шт.
• Паспорт и руководство по эксплуатации: 1 экз.
В комплект не входят и приобретаются отдельно:
• источник питания
• кронштейны для считывателей
Важно! Установка считывателей на корпус турникета не предусмотрена.
Характеристики:
• Габаритные размеры (ВхШхГ), мм:
- в рабочем состоянии: 1024х800х900
- со сложенными планками: 1024х200х361
• Вес, кг: 25
• Диапазон температур, °С: +1...+40
• Относительная влажность воздуха, %, не: более 80
• Ширина формируемого прохода, мм: 500
• Пропускная способность, чел/мин: 30
• Срок службы, год: 8
• Напряжение питания, В:
- номинальное: 12
- рабочее: 10,8...13,2
• Род тока: постоянный
• Средний ток в режиме ожидания*, А: 0,4
• Средний ток в режиме прохода*, А: 0,4
• Максимальный ток потребления: 1,5
Конструкция изделия
Стойка турникета
Корпус турникета и преграждающие планки выполнены из шлифованной нержавеющей стали. В средней части корпуса имеется съемная изогнутая пластина из нержавеющей стали для быстрого доступа к месту укладки управляющих кабелей. В нижней части стойки турникета имеется отверстие для ввода этих кабелей. Для подключения кабелей БП, ПУ и СКУД используется кросс плата ,расположенная под съемной крышкой в блоке преграждающих планок Крышка основания (крепится на двухсторонний скотч), она скрывает крепление турникета к полу.

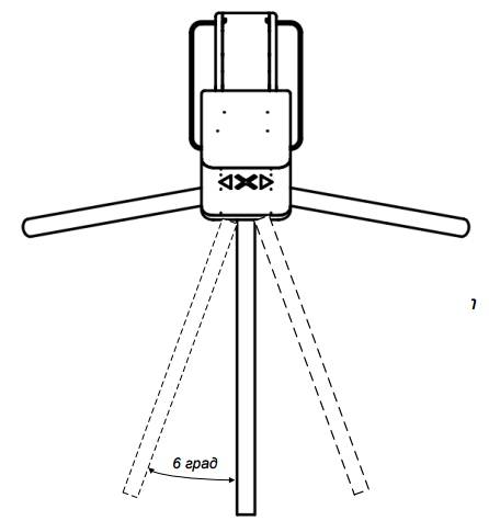
ВНИМАНИЕ! Для регистрации проходов при работе турникета под управлением СКУД и исключения несанкционированных проходов, необходимо организовывать зоны прохода согласно рисунку.

При установке турникета необходимо учесть возможный свободный ход планки, в режиме STOP, он составляет по 6 градусов в каждую
сторону.

Панель индикации
Панель индикации турникета расположена в верхней части турникета за вставкой из акрилового стекла. Режимы работы турникета отображаются на панели в виде мнемонических знаков разрешения и запрещения прохода.
Пульт управления
Корпус ПУ выполнен из шлифованной нержавеющей стали. На лицевой стороне расположены кнопки управления 1 - 4 и светодиодные индикаторы режимов работы пульта. Стандартная длина кабеля, поставляемого в комплекте, составляет 5 метров.
ВНИМАНИЕ! Установка турникета должна производиться квалифицированными специалистами согласно Инструкции по монтажу.
Требования безопасности
Категорически запрещается:
• устанавливать блок питания внутри корпуса турникета, т.к. это может привести к поражению людей электрическим током;
• устанавливать турникет вне сухих и отапливаемых помещений;
• применять для чистки изделия химически агрессивные к материалам корпуса пасты и жидкости.
Включение турникета
Турникет приходит к заказчику в сложенном виде (режим транспортировки). Для начала работы его надо перевести в рабочее положение:
- выкрутите фиксирующий винт 4 и поднимите голову турникета вверх до упора.
- закрутите фиксирующий винт 4 для фиксации головы турникета
- закрутите винт 3 для надежного крепления головы турникета.
- оттяните стопор фиксации 2 планок, удерживая одну планку рукой в зафиксированном положении, разложите остальные планки в рабочее положение.

Подключите БП к сети ~220В и включите его. На панели индикации турникета загорится красный крест, запрещающий проход, на ПУ светодиодный индикатор кнопки 2 загорится красным. Одна из планок находится в преграждающем состоянии, запрещающем проход. Турникет готов к работе.
Режимы работы турникета
Турникет имеет несколько режимов работы. Включение нужного режима осуществляется с помощью ПУ или СКУД.
Индикация режимов работы отображается на панели индикации в виде мнемонических знаков разрешения и запрещения прохода.
Работа со СКУД рассмотрена в Инструкции по монтажу. В данном разделе будет рассмотрена работа с ПУ.

Режим ”Стоп”
Режим «Стоп» устанавливается при включении турникета.
Переход из другого режима в режим «Стоп» осуществляется с помощью кнопки 2, при этом над кнопкой светодиодный индикатор загорается красным. В этом режиме запрещен проход в обе стороны.
Средняя планка может быть отклонена от исходного положения на небольшой угол 6 градусов. При отклонении планки стопор, не даст провернуть планку для совершения прохода.
Режим однократного прохода
Кнопка 1(3) включает режим однократного прохода влево (вправо). При включении этого режима будет разрешен один проход влево (вправо) с последующим переходом в режим “Стоп”. На панели индикации горит стрелка, показывающая свободный проход влево (вправо). На ПУ светодиодный индикатор горит зеленым над кнопкой, в сторону которой разрешен проход, и красным над кнопкой 2. Если проход не совершен в течение 5 секунд, турникет автоматически переходит в режим “Стоп”.
Режим многократного прохода в одну сторону
Для перехода в этот режим требуется нажать и удерживать кнопку 2, после чего нажать кнопку 1(3). После этого обе кнопки можно отпустить. Многократный проход отображается на ПУ зелёной индикацией над кнопкой 1(3), красный светодиодный индикатор над кнопкой 2 не горит. На панели индикации отображается стрелка в направлении разрешенного прохода. В этом режиме проход в разрешённую сторону можно совершать неограниченное количество раз. Также имеется возможность разрешить однократный проход в запрещенную сторону нажатием кнопки 1(3). После совершения этого прохода или по истечении 5 секунд турникет вернётся в режим “Стоп”.
Режим свободного прохода
Для перехода в этот режим требуется нажать и удерживать кнопку 1, после чего нажать кнопку 3 и отпустить обе кнопки. В этом режиме разрешены проходы в обе стороны неограниченное количество раз. На панели индикации горят стрелки в обе стороны.
На ПУ светодиодные индикаторы над кнопками 1 и 3 горят зеленым.
Режим “Антипаника”
Переход в этот режим осуществляется механическим путем.
Переведите турникет в режим «антипаника», для этого нажмите на пульте кнопку 4. Оттяните стопор фиксации 2 планок, удерживая одну планку рукой в зафиксированном положении, другой рукой проверните другую планку по часовой стрелке, так чтобы все планки совместились. Затем все вместе сложенные планки доверните вниз.
При этом на панели индикации, будут мигать стрелки в обе стороны.
Режим “Транспортировки”
Данный режим используется для транспортировки. Для того чтобы в него войти, надо сложить планки, как описано в режиме «антипаника». Поднять все сложенные планки в горизонтальное положение, затем открутить полностью винт 4 расположенный на стойке турникета, отпустить винт 3 и опустить голову турникета вниз, так чтобы сложенные планки вложились в изгиб ноги турникета.
Бренд турникета | Oxgard |
Вид турникета | Турникет |
Тип турникета | Трипод |
Тип корпуса турникета | Однопроходной, Напольный |
Тип привода турникета | Электромеханический |
Исполнение турникета | Для помещений |
Материал корпуса турникета | Нержавеющая сталь |
Преграждающие планки/створки | Антипаника, в комплекте |
Антипаника | Механическая |
Тип блокировки | Нормально закрытый (НЗ) |
Встроенный картоприемник | Нет |
Встроенные считыватели | Без считывателей |
Пропускная способность | 30 чел/мин |
Пульт управления | 1 шт. в комплекте |
Напряжение питания | 220 В |
Потребляемый ток, макс. | 1.5 А |
Габариты | 1024х800х900 мм |
Ширина перекрываемого прохода | 900 мм |
Ширина прохода | 500 мм |
Вес, кг | 25 |
Рабочая температура | от +1°C до +40°C |
Средний срок службы | Не менее 8 лет |
Стыковка со СКУД | Любые типы СКУД |
Гарантия | 2 года |
Страна производства | Россия |
Функция «Быстрый заказ» позволяет покупателю не проходить всю процедуру оформления заказа самостоятельно. Вы заполняете форму, и через короткое время вам перезвонит менеджер магазина. Он уточнит все условия заказа, ответит на вопросы, касающиеся качества товара, его особенностей. А также подскажет о вариантах оплаты и доставки.
По результатам звонка, пользователь либо, получив уточнения, самостоятельно оформляет заказ, укомплектовав его необходимыми позициями, либо соглашается на оформление в том виде, в котором есть сейчас. Получает подтверждение на почту или на мобильный телефон и ждёт доставки.
Оформление заказа в стандартном режиме
Если вы уверены в выборе, то можете самостоятельно оформить заказ, заполнив по этапам всю форму.
Заполнение адреса
Выберите из списка название вашего региона и населённого пункта. Если вы не нашли свой населённый пункт в списке, выберите значение «Другое местоположение» и впишите название своего населённого пункта в графу «Город». Введите правильный индекс.
Доставка
В зависимости от места жительства вам предложат варианты доставки. Выберите любой удобный способ. Подробнее об условиях доставки читайте в разделе «Доставка».
Оплата
Выберите оптимальный способ оплаты. Подробнее о всех вариантах читайте в разделе «Оплата»
Покупатель
Введите данные о себе: ФИО, адрес доставки, номер телефона. В поле «Комментарии к заказу» введите сведения, которые могут пригодиться курьеру, например: подъезды в доме считаются справа налево.
Оформление заказа
Проверьте правильность ввода информации: позиции заказа, выбор местоположения, данные о покупателе. Нажмите кнопку «Оформить заказ».
Наш сервис запоминает данные о пользователе, информацию о заказе и в следующий раз предложит вам повторить к вводу данные предыдущего заказа. Если условия вам не подходят, выбирайте другие варианты.
Если Вы хотите узнать об условиях доставки и оплаты, но не желаете о них читать, то Вы можете позвонить любому нашему сотруднику, и он обязательно Вам поможет.
Покупка за безналичный расчет
При оплате за безналичный расчет наш сотрудник свяжется с Вами, чтобы подтвердить заказ и уточнить сроки и адрес доставки. После оформления заказа сотрудник нашей компании вышлет вам счет, по которому необходимо будет произвести оплату.
После оплаты заказа к Вам приедет наш курьер, который доставит ваш заказ.
Самостоятельно забрать заказ из пунктов самовывоза Вы можете после его оплаты по безналичному расчету. Оплата доставки до пунктов выдачи транспортных компаний производится по тарифам выбранной Вами транспортной компании непосредственно в месте получения заказа.
Самовывоз из офиса нашей компании в Зеленограде, так же возможен после предоплаты по безналичному расчету, и предварительной договоренности с менеджером.
Интернет-магазин выполняет доставку любого товара своей собственной Службой доставки.
Стоимость доставки курьером
Стоимость доставки по Москве, Все товары —750 руб., бесплатная доставка от 25000 руб
Стоимость доставки по Московской области рассчитывается для каждого заказа индивидуально и зависит от суммарного веса товаров заказа и удаленности адреса доставки.
Время доставки
Время доставки согласовывается с менеджером Службы доставки, который обязательно свяжется с вами сразу после того, как вы разместите свой заказ.
Для осуществления доставки в регионы России мы пользуемся услугами компаний СДЭК, ЖелДорЭкспедиция, Автотрейдинг, Деловые Линии. В таком случае, указанными кампаниями взимается стоимость доставки по их внутренним тарифам с заказчика при получении товара.
Самовывоз
Забрать товар самостоятельно и абсолютно бесплатно можно только по адресу: Москва, Зеленоград, Панфиловский проспект, дом 10.
Забрать товар самовывозом можно по любому из адресов самовывоза указанных здесь, стоимость доставки до пункта самовывоза рассчитывается для каждого заказа по тарифам транспортных компаний.









