Турникет Praktika T-03 предназначен для контроля доступа и управления потоками людей. Турникет может использоваться на проходных предприятий и организаций, в учреждениях, банках, учебных заведениях, спортивно-развлекательных объектах, магазинах, вокзалах и т.п.
Для обеспечения удобного и быстрого прохода людей рекомендуется устанавливать по одному турникету на каждых 500 человек, работающих в одну смену.
Комплект поставки:
• Турникет: 1 шт.
• Пульт управления с кабелем: 1 шт.
• Ключи замков: 6 шт.
• Паспорт и руководство по эксплуатации: 1 экз.
В комплект не входят и приобретаются отдельно:
• блок питания БП-5А
• картоприемник
• считыватели
Характеристики:
• Габаритные размеры (ШхВхГ), мм:
- в рабочем состоянии: 1505х1200х850
- со сложенными планками: 1505х1200х350
• Вес, кг: 132
• Диапазон температур, °С: +1...+40
• Относительная влажность воздуха, %: не более 80
• Ширина формируемого прохода, мм: 500
• Пропускная способность, чел/мин: 30
• Макс. кол-во подключаемых пультов,шт.: 2
• Напряжение питания, В:
- номинальное 12,0
- рабочее 10,8...13,2
• Средний ток в режиме ожидания*, А: 0,4
• Средний ток в режиме прохода*, А: 1,5
• Максимальный ток потребления*, А: 5
• Срок службы, год: 8
Конструкция турникета
Стойка турникета
Корпус турникета и преграждающие планки выполнены из шлифованной нержавеющей стали. Элементы ограждения выполнены из закаленного стекла. Конструкция турникета имеет в своем составе интегрированный картоприемник. В средней части корпуса имеется съемная дверца с замком для быстрого доступа к кросс-плате при подключении кабелей БП, ПУ и СКУД. В нижней части корпуса имеются отверстия для ввода кабелей и крышка основания, скрывающая крепление турникета к полу.

ВНИМАНИЕ! Для регистрации проходов при работе турникета под управлением СКУД и исключения несанкционированных проходов, необходимо организовывать зоны прохода согласно рисунку.

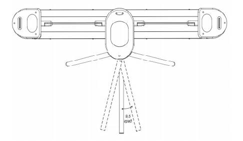
При установке турникета необходимо учесть возможный свободный ход планки, в режиме STOP,он составляет по 9,5 градуса в каждую сторону.

Система индикации
Система индикации турникета состоит из трех панелей. Панели выполнены из искусственного камня со вставками из акрилового стекла. Режимы работы турникета отображаются на панелях в виде мнемонических знаков разрешения и запрещения прохода.
Пульт управления
Корпус ПУ выполнен из шлифованной нержавеющей стали. На лицевой стороне расположены кнопки управления и светодиодные индикаторы режимов работы пульта. Стандартная длина кабеля, поставляемого в комплекте, составляет 5 метров.
ВНИМАНИЕ! Установка турникета должна производиться квалифицированными специалистами согласно Инструкции по монтажу.
Категорически запрещается:
• устанавливать блок питания внутри корпуса турникета, т.к. это может привести к поражению людей электрическим током;
• устанавливать турникет вне сухих и отапливаемых помещений;
• препятствовать или ускорять движение створок турникета;
• применять для чистки изделия химически агрессивные к материалам корпуса пасты и жидкости.
Включение турникета
Подключите БП к сети ~220В и включите его. Турникет совершит один полный оборот планок. Одна планка встанет в исходное положение, на панелях индикации турникета загорится красный крест, на ПУ светодиодный индикатор кнопки 2 загорится красным.
Турникет готов к работе.
Режимы работы турникета
Турникет имеет несколько режимов работы. Включение нужного режима осуществляется с помощью ПУ или бесконтактной карты доступа. Индикация режимов работы отображается на панелях в виде мнемонических знаков разрешения и запрещения прохода.
Управление турникетом с помощью пульта
Над каждой кнопкой находится светодиодный индикатор отображающий режим работы турникета.

Режим ”Стоп”
Режим “Стоп” устанавливается при включении турникета.
Переход из другого режима в режим “Стоп” осуществляется с помощью кнопки 2, при этом над кнопкой 2 светодиодный индикатор загорается красным. В этом режиме запрещен проход в обе стороны.
Средняя планка может быть отклонена от исходного положения на небольшой угол. При отклонении планки автоматически включится стопор, который не даст провернуть планку для совершения прохода, после чего турникет вернёт планку в исходное положение.
Режим однократного прохода
Кнопка 1(3) включает режим однократного прохода влево(вправо). При включении этого режима будет разрешен один проход влево(вправо) с последующим переходом в режим “Стоп”. На панели индикации горит стрелка показывающая свободный проход влево(вправо). На ПУ светодиодный индикатор горит зеленым над кнопкой, в сторону которой разрешён проход, и красным над кнопкой 2. Если проход не совершен в течение 5 секунд, турникет автоматически переходит в режим “Стоп”.
Режим многократного прохода в одну сторону
Для перехода в этот режим требуется нажать и удерживать кнопку 2, после чего нажать кнопку 1(3). После этого обе кнопки можно отпустить. Многократный проход отображается на ПУ зелёной индикацией над кнопкой 1(3), красный светодиодный индикатор над кнопкой 2 не горит. На панели индикации отображается стрелка в направлении разрешенного прохода. В этом режиме проход в разрешённую сторону можно совершать неограниченное количество раз. Также имеется возможность разрешить однократный проход в запрещенную сторону нажатием кнопки 1(3). После совершения этого прохода или по истечении 5 секунд турникет вернётся в исходный режим.
Режим свободного прохода
Для перехода в этот режим требуется нажать и удерживать кнопку 1, после чего нажать кнопку 3 и отпустить обе кнопки. В этом режиме разрешены проходы в обе стороны неограниченное количество раз. На панели индикации горят стрелки в обе стороны.
На ПУ светодиодные индикаторы над кнопками 1 и 3 горят зеленым.
Режим “Антипаника”
Переход в этот режим осуществляется из любого режима нажатием кнопки 4. На панели индикации несколько раз моргнёт красный крест, после чего турникет начнет вращать и складывать планки. В этом режиме на турникете все планки будут сложены, при этом на панели индикации будут мигать стрелки в обе стороны. На ПУ светодиодный индикатор над кнопкой 4 загорится желтым.
Настройка пульта управления
Турникет относительно пользователя может быть установлен различными способами. В некоторых случаях требуется поменять местами кнопки прохода влево/вправо. Это можно проделать с помощью следующих операций:
• выключить питание турникета;
• нажать и удерживать кнопки влево(1) и вправо(3);
• включить питание турникета;
• удерживая кнопки 1 и 3, нажать кнопку 2;
• отпустить кнопки 1 и 3;
• отпустить кнопку 2.
Теперь при нажатии кнопки влево будет разрешён проход вправо и наоборот. Текущее назначение кнопок запоминается и не сбрасывается при выключении питания. Для возврата к первоначальному варианту необходимо повторно проделать вышеуказанную последовательность действий.
Видеообзор турникета Praktika-Т-03
Бренд турникета | Oxgard |
Вид турникета | Турникет |
Тип турникета | Трипод |
Тип корпуса турникета | Однопроходной, Тумбовый, Напольный |
Тип привода турникета | Электромоторный |
Исполнение турникета | Для помещений |
Материал корпуса турникета | Нержавеющая сталь |
Преграждающие планки/створки | Антипаника, в комплекте |
Антипаника | Автоматическая |
Тип блокировки | Нормально закрытый (НЗ) |
Встроенный картоприемник | Нет |
Встроенные считыватели | Без считывателей |
Пропускная способность | 30 чел/мин |
Пульт управления | 1 шт. в комплекте |
Напряжение питания | 12 В |
Потребляемый ток, макс. | 5 А |
Габариты | 1505х1200х850 мм |
Габариты без штанг | 1505х1200х350 мм |
Ширина перекрываемого прохода | 850 мм |
Ширина прохода | 500 мм |
Вес, кг | 132 |
Рабочая температура | от +1°C до +40°C |
Рабочая влажность | не выше 80% без конденсации |
Средний срок службы | Не менее 8 лет |
Стыковка со СКУД | Любые типы СКУД |
Гарантия | 2 года |
Страна производства | Россия |
Функция «Быстрый заказ» позволяет покупателю не проходить всю процедуру оформления заказа самостоятельно. Вы заполняете форму, и через короткое время вам перезвонит менеджер магазина. Он уточнит все условия заказа, ответит на вопросы, касающиеся качества товара, его особенностей. А также подскажет о вариантах оплаты и доставки.
По результатам звонка, пользователь либо, получив уточнения, самостоятельно оформляет заказ, укомплектовав его необходимыми позициями, либо соглашается на оформление в том виде, в котором есть сейчас. Получает подтверждение на почту или на мобильный телефон и ждёт доставки.
Оформление заказа в стандартном режиме
Если вы уверены в выборе, то можете самостоятельно оформить заказ, заполнив по этапам всю форму.
Заполнение адреса
Выберите из списка название вашего региона и населённого пункта. Если вы не нашли свой населённый пункт в списке, выберите значение «Другое местоположение» и впишите название своего населённого пункта в графу «Город». Введите правильный индекс.
Доставка
В зависимости от места жительства вам предложат варианты доставки. Выберите любой удобный способ. Подробнее об условиях доставки читайте в разделе «Доставка».
Оплата
Выберите оптимальный способ оплаты. Подробнее о всех вариантах читайте в разделе «Оплата»
Покупатель
Введите данные о себе: ФИО, адрес доставки, номер телефона. В поле «Комментарии к заказу» введите сведения, которые могут пригодиться курьеру, например: подъезды в доме считаются справа налево.
Оформление заказа
Проверьте правильность ввода информации: позиции заказа, выбор местоположения, данные о покупателе. Нажмите кнопку «Оформить заказ».
Наш сервис запоминает данные о пользователе, информацию о заказе и в следующий раз предложит вам повторить к вводу данные предыдущего заказа. Если условия вам не подходят, выбирайте другие варианты.
Если Вы хотите узнать об условиях доставки и оплаты, но не желаете о них читать, то Вы можете позвонить любому нашему сотруднику, и он обязательно Вам поможет.
Покупка за безналичный расчет
При оплате за безналичный расчет наш сотрудник свяжется с Вами, чтобы подтвердить заказ и уточнить сроки и адрес доставки. После оформления заказа сотрудник нашей компании вышлет вам счет, по которому необходимо будет произвести оплату.
После оплаты заказа к Вам приедет наш курьер, который доставит ваш заказ.
Самостоятельно забрать заказ из пунктов самовывоза Вы можете после его оплаты по безналичному расчету. Оплата доставки до пунктов выдачи транспортных компаний производится по тарифам выбранной Вами транспортной компании непосредственно в месте получения заказа.
Самовывоз из офиса нашей компании в Зеленограде, так же возможен после предоплаты по безналичному расчету, и предварительной договоренности с менеджером.
Интернет-магазин выполняет доставку любого товара своей собственной Службой доставки.
Стоимость доставки курьером
Стоимость доставки по Москве, Все товары —750 руб., бесплатная доставка от 25000 руб
Стоимость доставки по Московской области рассчитывается для каждого заказа индивидуально и зависит от суммарного веса товаров заказа и удаленности адреса доставки.
Время доставки
Время доставки согласовывается с менеджером Службы доставки, который обязательно свяжется с вами сразу после того, как вы разместите свой заказ.
Для осуществления доставки в регионы России мы пользуемся услугами компаний СДЭК, ЖелДорЭкспедиция, Автотрейдинг, Деловые Линии. В таком случае, указанными кампаниями взимается стоимость доставки по их внутренним тарифам с заказчика при получении товара.
Самовывоз
Забрать товар самостоятельно и абсолютно бесплатно можно только по адресу: Москва, Зеленоград, Панфиловский проспект, дом 10.
Забрать товар самовывозом можно по любому из адресов самовывоза указанных здесь, стоимость доставки до пункта самовывоза рассчитывается для каждого заказа по тарифам транспортных компаний.









