Для организации проходной с зонами прохода разной ширины (600 и 900 мм) предназначено исполнение изделия PERCo-ST-02.600/900 (включает в себя секции Master и Slave со створками разной ширины и поставляется по отдельному заказу), а в двусторонней секции PERCo-STD-02.900 реализована возможность уменьшения расстояния вылета одной из створок для зоны прохода шириной 600 мм.
Скоростной проход PERCo-ST-02 является преграждающим устройством с раздвижными створками и предназначен для управления потоками людей на проходных административных учреждений, в банках, магазинах, вокзалах, аэропортах и т.п.
Скоростной проход с раздвижными створками PERCo-ST-02 предназначен для работы внутри помещений для организации VIP-проходных с повышенными требованиями к дизайну и комфортности прохода.
Система слежения снабжена двумя уровнями инфракрасных датчиков, что гарантирует безопасность прохода при высокой пропускной способности, а также защиту от прохода двух и более человек одновременно.
Турникет имеет два основных исполнения: PERCo-ST-02.600 с шириной прохода 600 мм и PERCo-ST-02.900 с шириной прохода 900 мм.
Увеличенная ширина прохода позволяет организовать проезд инвалидных колясок, а также дополнительный выход в случае чрезвычайной ситуации. При проходе створки турникета раздвигаются.
Турникет состоит из двух секций PERCo-ST-02.600/M (PERCo-ST-02.900/M) (секция Master) и PERCo-ST-02.600/S (PERCo-ST-02.900/S) (секция Slave).
В стандартном комплекте поставки турникет позволяет организовать одну зону прохода.
При необходимости увеличения количества зон прохода предусмотрена возможность приобретения двусторонних секций PERCo-STD-02. Каждая двусторонняя секция позволяет организовать одну дополнительную зону прохода.
Двусторонняя секция имеет два основных исполнения: PERCo-STD-02.600 для организации зон прохода с шириной 600 мм и PERCo-STD-02.900 для организации зон прохода с шириной 900 мм.
Комплект поставки PERCo-ST-02:
• Секция Master с монтажным комплектом: 1 шт
• Секция Slave с монтажным комплектом: 1 шт
• Крышка стеклянная: 4 шт
• Стекло заполнения: 2 шт
• Створка стеклянная 300 мм и 450 мм: 2 шт
• Боковая панель: 4 шт
• Вставка центральная: 2 шт
• Пульт дистанционного управления с кабелем: 1 шт
• Комплект документации: паспорт и руководство по эксплуатации: 1 к-т
Не входят в комплект поставки и приобретаются отдельно:
• Считыватели карт доступа типа PERCo-IR03.1 (HID / EMM), или PERCo-MR07 OEM (Mifare), или PERCo-RP-15.2 (HID / EMM, Wiegand)
• Комплект крепежа для каждой секции турникета на установочную поверхность:
- анкер PFG IH10 (фирма «SORMAT», Финляндия): 6 шт.
- болт М10×70 с внутренним шестигранником: 6 шт.
- шайба 10, шт.: 6 шт.
• Блок питания LRS-150-24 стабилизированный (на каждую секцию)
• Устройство радиоуправления
Внутри секций турникета предусмотрена возможность установки считывателей карт доступа, как производства компании PERCo (PERCo-IR03.1, PERCo-MR07 OEM, PERCo-RP-15.2), так и сторонних производителей.
Считыватели карт доступа в стандартный комплект поставки турникета не входят!
Считыватели должны удовлетворять следующим требованиям:
• габаритные размеры: не более 230×72×32 мм
• дальность считывания идентификаторов: не менее 40 мм
Также внутри секции турникета предусмотрена установка контроллера СКУД.
• Ограничения по его габаритным размерам: не более 160×140×40 мм.
Особенности турникета
• управление турникетом от пульта ДУ, устройства радиоуправления, СКУД
• верхний и нижний уровни инфракрасных датчиков контроля зоны прохода, по 30 шт. на каждом уровне.
• возможность совершения санкционированных однократных проходов нескольких пользователей друг за другом подряд в одном направлении без закрытия створок между проходами увеличивает пропускную способность турникета.
• 2 варианта исполнения турникета, отличающихся шириной прохода.
• перекрытие створками зоны прохода, а также дополнительными стеклами пространства над секциями до высоты 148 см.
• возможность установки считывателей бесконтактных карт доступа внутри секций под стеклянной крышкой
• индикаторы запрещения / разрешения прохода на стеклянных крышках секций
• выделение зон работы считывателей мнемоническими пиктограммами с подсветкой
• торцевые указатели направления прохода с подсветкой
• вход Fire Alarm для подключения устройства аварийного открытия прохода, при подаче команды от него происходит автоматическое открытие створок и предоставляется возможность прохода в обоих направлениях
Исполнение
Материал корпуса – нержавеющая сталь, заполнение пространства над секциями и створки – закаленное стекло 8 мм, крышка секции – закаленное стекло 10 мм.
Турникет по устойчивости к воздействию климатических факторов соответствует условиям УХЛ4 по ГОСТ 15150-69 (для эксплуатации в помещениях с искусственно регулируемыми климатическими условиями).
Эксплуатация турникета разрешается при температуре окружающего воздуха от +1°С до +50°С и относительной влажности воздуха до 80% при +25°С.
Режимы работы
Изделие обеспечивает контроль прохода в двух направлениях, режим работы может быть задан независимо для каждого направления.
Поддерживаемые режимы работы:
• запрет прохода в обоих направлениях,
• однократный проход в одном и запрет прохода в другом направлении,
• поочередный однократный проход в обоих направлениях,
• свободный проход в одном направлении и запрет прохода в другом,
• свободный проход в одном направлении и однократный проход в другом,
• свободный проход в обоих направлениях.
Изделие является нормально открытым устройством. При выключении питания створки прохода разблокированы и свободно раздвигаются вручную.
Основные технические характеристики:
• Номинальное напряжение питания: 24 В
• Допустимое напряжение питания*: 20-28 В
• Ток потребления: не более 8,5**
• Потребляемая мощность***: не более 204 Вт
• Пропускная способность в режиме однократного прохода: до 60 чел/мин
• Ширина зоны прохода:
- PERCo-ST-02.600: 600 мм
- PERCo-ST-02.900: 900 мм
• Количество установленных датчиков контроля зоны прохода:
- верхний уровень: 30 шт.
- нижний уровень: 30 шт.
• Длина кабеля Пульта дистанционного управления****: не менее 6,6 м
• Степень защиты оболочки: IP41 по EN 60529
• Класс защиты от поражения электрическим током: III по IEC 61140
• Средняя наработка на отказ: не менее 2 000 000 проходов
• Средний срок службы: 8 лет
• Масса:
- секция PERCo-ST-02.600/M (PERCo-ST-02.600/S): не более 198 кг
- секция PERCo-ST-02.900/M (PERCo-ST-02.900/S): не более 224 кг
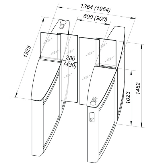
• Габаритные размеры турникета:
- PERCo-ST-02.600: 1923х1364х1482 мм
- PERCo-ST-02.900: 1923х1964х1482 мм
* В случае применения резервных источников питания в виде аккумуляторных батарей и т.д.
** В качестве источника питания турникета производитель рекомендует использовать блоки питания с выходным напряжением 24V DC и максимальным током нагрузки не менее 10 A.
*** Ток потребления и мощность потребления указаны для каждого изделия PERCo-ST-02 или PERCo-STD-02 в отдельности.
**** Максимальная длина кабеля Пульта дистанционного управления – 40 м (поставляется под заказ).

Устройство и работа
• Турникет может работать в двух основных режимах:
нормально-закрытый режим – створки турникета находятся в сведённом положении, при отключении питания створки остаются в закрытом положении и в случае необходимости могут быть раздвинуты вручную (не блокируются);
нормально-открытый режим – створки турникета находятся в разведённом положении, при отключении питания створки остаются в открытом положении и не мешают проходу.
• Для нормально-закрытого режима есть возможность в заранее выбранном направлении установить дополнительный режим работы Автоматическое открытие в выбранном направлении: створки автоматически открываются при каждом входе в турникет и закрываются после прохода. Режим можно задать только для одного из направлений, второе направление остается в основном режиме работы.
• Во всех режимах работы турникет выдает сигнал тревоги, если зона прохода занята более 30 с.
• По всей длине зоны прохода турникета установлены датчики контроля зоны прохода, расположенные в двух уровнях. Это позволяет отслеживать положение пользователя внутри зоны прохода, а также позволяет одновременно находиться в зоне прохода нескольким пользователям, совершающим проход в одном направлении.
• При необходимости количество зон прохода через турникет может быть увеличено установкой двусторонних секций PERCo-STD-02.
• Предусмотрена возможность организации проходной с зонами прохода разной ширины, 600 и 900 мм. Для этого используются изделия PERCo-ST-02.600/900 (поставляется по отдельному заказу) и PERCo-STD-02.900 с установленным с одной стороны ограничителем вылета створки.
• При организации нескольких зон прохода торцевые блоки индикации позволяют пользователю при подходе к турникету заранее правильно выбрать зону для прохода в нужном направлении.
• Турникет поддерживает два режима управления: импульсный и потенциальный.
• Возможна работа турникета как в качестве исполнительного устройства в составе СКУД, так и автономная работа при управлении оператором от Пульта дистанционного управления.
• Предусмотрена возможность установки внешнего контроллера СКУД и считывателей бесконтактных карт доступа внутри секции под стеклянной крышкой.
• В стеклянную крышку турникета встроен блок индикации, в состав которого входят индикатор разрешения прохода, индикатор запрета прохода и индикатор зоны предъявления карт доступа.
• Предусмотрена возможность подключения выносных блоков индикации для дублирования индикации разрешения / запрещения прохода.
• Предусмотрена возможность подключения к турникету звукового оповещателя (сирены) для предупреждения оператора о попытках совершения несанкционированного прохода.
• Предусмотрена возможность автоматического аварийного открытия прохода при подаче команды Fire Alarm. Команда Fire Alarm может быть подана прибором охранной пожарной сигнализации или оператором при помощи аварийной кнопки (далее – устройство аварийного открытия прохода).
• Детали турникета выполнены из шлифованной нержавеющей стали. Створки и стекло заполнения выполнены из закаленного стекла толщиной 8 мм.
Устройство
Турникет состоит из двух секций, Master и Slave, а также пульта дистанционного управления (11). Секция Slave подключается к секции Master с помощью двух соединительных кабелей DC и CAN (9, 10).
На каждой секции установлена выдвижная створка (1) и неподвижное стекло заполнения (2).
Для увеличения количества зон прохода необходима установка двусторонних секций.
Каждая двусторонняя секция также комплектуется пультом дистанционного управления (11). На ней установлены две выдвижные створки (1): на стороне Master и стороне Slave. Каждая створка приводится в движение своим электроприводом. К стороне Master подключается секция Slave турникета c помощью двух соединительных кабелей (9, 10) из комплекта поставки этого турникета.

Секция
Каждая секция представляет собой единую конструкцию. Сверху на секцию установлены две стеклянные крышки (3), закрывающие верх секции. Между стеклянными крышками сверху секции установлена центральная вставка с пазами для створки (для створок) и для
стекла заполнения. Места крепления створок стеклянных (1) и стекла заполнения (2) к секции с двух сторон закрыты боковыми панелями (6). У секций PERCo-ST-02 боковые панели двух видов – одна сплошная и одна с пазом для створки секции, у двусторонней секции PERCo-STD-02 – обе боковые панели с пазами для створок.
В одну из стеклянных крышек с торца секции встроен верхний блок индикации (5) (у двухсторонней секции два верхних блока индикации – в обеих крышках), в состав которого входят индикатор разрешения прохода (в виде зеленой стрелки), индикатор запрещения прохода (в виде красного креста) и индикатор зоны предъявления карт доступа (в виде пиктограммы «рука с картой»).
Торцы секции закрыты торцевыми панелями (7) из нержавеющей стали. На одной из торцевых панелей (7) расположен торцевой блок индикации (8) с индикатором, указывающим на направление прохода или на запрет прохода (в виде белой стрелки или красного креста). У двусторонней секции обе торцевые панели снабжены блоками индикации.
Створка стеклянная (1) приводится в движение механизмом, оснащённым электроприводом и расположенным внутри секции.
На боковых сторонах секции на двух уровнях – нижнем (14) и верхнем (15) – под пластиковыми вставками расположены датчики контроля зоны прохода, обеспечивающие контроль прохода.
Под одной из стеклянных крышек секции (стороны секции) Master установлена плата управления турникетом PERCo-ST02.-30.771 (далее – плата управления) (см. рис. 20). К плате управления через выносную колодку (рис. 7) подключаются источники питания, пульт дистанционного управления (приемник устройства РУ), устройство Fire Alarm, при необходимости – другое дополнительное оборудование, а также соединительные кабели от секции (стороны секции) Slave.
Блоки индикации
На каждой секции турникета установлены следующие блоки индикации:
Верхний блок индикации (5) на одной из стеклянных крышек (у PERCo-STD-02 – на обеих крышках секции). Он включает в себя белый индикатор (рука с картой), указывающий зону предъявления карты доступа, зеленый индикатор (стрелку), загорающийся при разрешении прохода в данном направлении, и красный индикатор (крест), загорающийся при запрещении прохода:
– зеленый индикатор разрешения прохода
– красный индикатор запрещения прохода
– белый индикатор места предъявления карты
Торцевой блок индикации (8) на торцевых панелях предназначен для указания
направления прохода через турникет. На нем отображается постоянная индикация либо
белая стрелка, либо красный крест:
– красный индикатор запрещения прохода
– белый индикатор, указывающий направление прохода
Тип индикации торцевого блока выбирается при установке турникета путем переключения соединительного кабеля торцевого блока индикации к соответствующему разъему модуля управления индикацией (находится под крышкой турникета внутри корпуса, рис. 19). При производстве соединительный кабель подключен к разъему ARROW, что соответствует отображению белой стрелки. Для доступа к модулю управления индикацией необходимо снять стеклянную крышку (3).
Пульт дистанционного управления
Пульт дистанционного управления (11) выполнен в виде небольшого настольного прибора в корпусе из ударопрочного АБС-пластика. Пульт дистанционного управления предназначен для подачи команд оператором при ручном режиме управления турникетом.

На лицевой панели пульта дистанционного управления расположены три кнопки для подачи команд. Средняя кнопка STOP предназначена для подачи команды «Запрет прохода». Левая и правая кнопки LEFT, RIGHT предназначены для подачи команды открытия прохода в выбранном направлении.
Над кнопками расположены светодиодные индикаторы состояния направления прохода.
Красный индикатор «Stop» указывает на то, что оба направления прохода закрыты.
Доступные команды управления и индикация на пульте дистанционного управления для импульсного и потенциального режимов управления указаны в руководстве пользователя.
Режимы управления турникетом
Доступны два режима управления турникетом – импульсный и потенциальный. В обоих режимах управление турникетом осуществляется подачей команд (то есть комбинации управляющих сигналов) на входы управления: Unlock A, Stop и Unlock B и специальный вход
управления Fire Alarm. В зависимости от выбранного режима меняется алгоритм подачи команд управления.
Внимание!
Изменение положения переключателей, а также снятие и установка перемычек на платах турникета должны осуществляется только при выключенном питании турникета.
Выбор режима управления осуществляется переключателем Pulse на плате управления турникетом. При поставке переключатель находится в положении ON, что соответствует импульсному режиму управления турникетом.
Для перевода турникета в потенциальный режим управления переведите переключатель в положение OFF. Изменение режима управления произойдет после включения турникета.
Алгоритм работы турникета
Турникет поддерживает два основных режима работы:
1. Нормально-закрытый режим (перемычка XP2 (Mode1) не установлена):
- створки зоны прохода турникета находятся в сведённом положении, зона прохода турникета перекрыта постоянно;
- при санкционированном проходе створки автоматически открываются, после прохода – автоматически закрываются;
- при отключении (пропадании) питания створки остаются в закрытом положении и в случае необходимости могут быть раздвинуты вручную (не блокируются).
2. Нормально-открытый режим (перемычка XP2 (Mode1) установлена):
- створки зоны прохода турникета в исходном состоянии находятся в разведённом положении, зона прохода постоянно открыта;
- при попытке несанкционированного прохода створки автоматически закрываются, перекрывая проход; после освобождения зоны прохода вновь автоматически открываются;
- при отключении (пропадании) питания створки остаются в открытом положении и не мешают свободному проходу через турникет.
Режим «Автоматическое открытие в выбранном направлении»
Это дополнительный режим работы турникета, предназначен для организации особого режима прохода, когда необходимо обеспечить свободный вход (или выход) при условии закрытых в исходном состоянии створок турникета, и одновременно воспрепятствовать
несанкционированному проходу в противоположном направлении (например, на проходной в торговом зале магазина и т.п.).
Внимание!
Режим «Автоматическое открытие в выбранном направлении» актуален только для нормально закрытого режима работы турникета.
Включение данного режима осуществляется с помощью переключателей R1 и R2 на плате управления турникетом.
Изменения положений переключателей должны осуществляться только при выключенном питании турникета.
Режим позволяет организовать свободный проход через турникет в одном заранее выбранном направлении, с автоматическим открыванием и закрыванием створок при проходе. В случае, если санкционирован проход с противоположной стороны (от пульта дистанционного управления, устройства радиоуправления или контроллера СКУД), то режим «Автоматическое открытие в выбранном направлении» выключается на время совершения этого прохода.
Алгоритм работы турникета в данном режиме:
1) В исходном состоянии и при незанятой зоне прохода в направлении режима «Автоматическое открытие в выбранном направлении» горит зеленый индикатор разрешения прохода, в противоположном направлении горит красный индикатор запрета прохода. Нажатие кнопки пульта дистанционного управления или команда от контроллера СКУД для разрешения прохода в направлении режима «Автоматическое открытие в выбранном направлении» игнорируются.
2) При появлении проходящего в зоне прохода в направлении, выбранном для режима «Автоматическое открытие в выбранном направлении», датчики контроля зоны прохода дают команду контроллеру турникета на открытие створок. Створки турникета раскрываются для прохода в данном направлении, по окончании прохода датчики контроля зоны прохода дают команду контроллеру на закрытие створок, створки за проходящим автоматически закрываются. Индикация
остается в исходном состоянии.
3) При проходе в направлении, противоположном выбранному для режима «Автоматическое открытие в выбранном направлении» алгоритм работы турникета аналогичен обычному алгоритму. При санкционированном проходе режим «Автоматическое открытие в выбранном направлении» выключается на время прохода (время ожидания прохода), при установке в этом направлении режима «Свободный проход» – на все время установления данного режима.
4) Все остальные ситуации, в т.ч. и при попытках одновременного прохода в обоих направлениях, считаются нештатными, при их возникновении контроллер сгенерирует сигнал тревоги и команду на закрытие створок.
Устройства для управления турникетом
Управление турникетом может осуществляться с помощью следующих устройств:
Пульта дистанционного управления/ устройства радиоуправления, контроллера СКУД, устройства Fire Alarm. Указанные устройства могут быть подключены к турникету по отдельности, все вместе (параллельно) или в любой комбинации друг с другом.
При параллельном подключении к турникету нескольких устройств управления возможны случаи наложения управляющих сигналов. В этом случае реакция турникета будет соответствовать команде, сформированной комбинацией сигналов.
Монтаж турникета
Монтаж турникета является ответственной операцией, от которой в значительной степени зависит работоспособность и срок службы изделия. Монтаж должен выполняться силами не менее четырех человек, из которых как минимум два должны иметь квалификации монтажника и электрика не ниже 3-го разряда. До начала монтажных работ необходимо внимательно изучить руководство пользователя и в дальнейшем следовать изложенным в нем инструкциям.
Особенности монтажа
Рекомендации по подготовке установочной поверхности:
• Секции турникета необходимо устанавливать на прочные и ровные бетонные (не ниже марки 400, группа прочности В22,5), каменные и т.п. основания, имеющие толщину не менее 150 мм.
• Установочную поверхность необходимо выровнять так, чтобы все точки крепления секции турникета лежали в одной горизонтальной плоскости (контролировать с помощью уровня).
• При установке секции турникета на менее прочное основание необходимо применять закладные фундаментные элементы размером не менее 450×450×200 мм.
Порядок монтажа
При монтаже турникета придерживайтесь следующей последовательности действий:
1. Произведите монтаж источника питания на отведенное для него место в соответствии с инструкцией, приведенной в его эксплуатационной документации.
2. Определите места установки секций Master и Slave, при необходимости – места установки двусторонних секций. При этом необходимо учитывать правило взаимного расположения секций: напротив створки секции (стороны двусторонней секции) Master всегда должна располагаться створка секции (стороны двусторонней секции) Slave.
Для двухсторонней секции PERCo-STD-02 сторона (Master или Slave) определяется с помощью наклеек, расположенных под боковыми панелями (6).
3. В соответствии со схемами, приведенными на рисунке, и с учетом проекта проходной произведите разметку и разделку отверстий на установочной поверхности под гильзы анкеров для крепления секций турникета и двусторонних секций. Для разделки отверстий используйте сверло твердосплавное. Глубина сверления при использовании стандартных анкеров PFG IH10 – 65 мм.

Примечание:
Допускается использование основания секции в качестве шаблона для разметки отверстий. Для этого предварительно необходимо распаковать секцию и снять ее основание.
Внимание!
При установке секций турникета необходимо оставлять зазор не менее 70 мм между стенкой секции и стеной для обеспечения удобства монтажа.
4. Подготовьте в полу кабельные каналы:
- каналы для подводки кабелей от внешних устройств (источника питания (12), пульта дистанционного управления (11) или контроллера СКУД, устройства Fire Alarm (13) и другого
дополнительного оборудования – к отверстиям для ввода в секцию Master и для ввода в двусторонние секции;
- каналы, соединяющие отверстия для ввода кабелей противоположных секций (сторон двусторонней секции) одной зоны прохода – для подводки соединительных кабелей DC (9) и CAN (10), а также по необходимости при установке встроенных в турникет считывателей – кабель для соединения считывателя из секции Slave с контроллером СКУД.
Внимание!
Зоны прохода, ограниченные односторонними секциями и / или сторонами двусторонних секций, представляют собой отдельные функциональные устройства, не связанные непосредственно между собой.
Стороны Master и Slave одной двусторонней секции электрически независимы, так как относятся к разным зонам прохода.
5. В кабельных каналах проложите все необходимые кабели.
6. Установите гильзы анкеров в выполненные отверстия так, чтобы они не выступали над поверхностью пола.
7. Распакуйте секцию Master турникета (PERCo-ST-02/M, ящики №1 и №2).
Примечание:
Ящик №1 (3) состоит из днища, к которому транспортными болтами прикручена секция турникета, и верхнего короба. Для его распаковки необходимо снять закрепленный на нем сверху ящик №2 (№4), далее открутить шурупы внизу по периметру днища, отделив от него верхний короб ящика. Затем достаточно открутить шурупы с одной из боковых крышек ящика и верхний короб ящика легко снимется по частям.
Чтобы снять секцию с днища транспортировочного ящика:
Демонтируйте торцевые панели (7) (см. разд. 8.7.1, рис. 19). Будьте аккуратны, не повредите соединительный кабель торцевого блока индикации (8)!
Демонтируйте секцию со своего основания (см. рис. 20) и поставьте ее на ровную устойчивую поверхность. Перемещайте секцию при помощи двух монтировок, вставленных в специальные проушины с торцов турникета, работайте вчетвером!
Открутите основание от днища ящика и снимите его.
8. Установите основание секции Master на гильзы анкеров. Через отверстие для ввода кабелей в основании секции Master вытяните концы всех подведенных к секции кабелей.
9. Закрепите основание секции Master на установочной поверхности с помощью шести анкерных болтов М10 с шайбами.
10. Установите секцию Master на основание, предварительно протянув внутрь ее соединительные кабели. Используя шестигранный ключ SW4, закрепите секцию на основании с помощью четырёх установочных винтов М8. При необходимости для более удобной прокладки кабелей внутри корпуса секции имеется возможность отсоединить и выдвинуть по продольной оси одну или две съемные части корпуса.
11. При помощи уровня проверьте вертикальность установки секции, отклонение секции от вертикали в продольной плоскости не должно превышать 0,5º. Для юстировки используйте специальные винты в основании секции (для доступа к ним нужно будет снять секцию с основания). Допускается использование монтажных прокладок.
Примечание:
Следующие пункты 12 – 14 выполняются в случае, если устанавливаются дополнительные двухсторонние секции PERCo-STD-02.
12. Распакуйте и установите двустороннюю секцию. Выполните действия, указанные в п.п. 7 – 11, ориентируя двустороннюю секцию так, чтобы ее сторона Slave (определяется по наклейке на секции) находилась напротив установленной секции Master.
13. Через отверстие для ввода кабелей в основании двусторонней секции (со стороны Master) введите внутрь секции кабели для управления второй зоной прохода: от источника питания, от пульта дистанционного управления или контроллера СКУД, от устройства Fire Alarm и дополнительного оборудования, а также кабели DC и CAN от секции Slave.
14. При необходимости установите другие двусторонние секции (п.п. 14 – 16).
15. Распакуйте и установите секцию турникета Slave (PERCo-ST-02/S, ящики №3 и №4).
Выполните действия, указанные в п.п. 7 – 11.
Примечание:
Следующие пункты 16 – 21 выполняются поочередно для каждой отдельной зоны прохода.
16. Открутите по два винта, крепящие выносные колодки подключения в нижней части секций (сторон секций) Master и Slave к корпусу (см. рис. 7), и выньте их наружу, будьте аккуратны – не повредите внутреннюю проводку, подходящую к выносным колодкам!
17. Выньте изнутри каждой секции (стороны секции) и подключите внешние соединительные кабели к выносной колодке подключения согласно схеме электрических соединений турникета (см. рис. 17). Вставьте и закрепите на место выносную колодку. Аккуратно уложите подсоединенные к ней кабели внутри корпуса секции.
Примечание:
Соединительные кабели DC и CAN подключаются к выносным колодкам секций скоростного прохода в соответствии с маркировкой их жил.
18. При необходимости произведите монтаж считывателей карт доступа и контроллера СКУД – считыватели устанавливаются на предусмотренные для этого кронштейны, расположенные внутри секций под верхними блоками индикации крышек или непосредственно на блоках индикации снизу (PERCo-MR07 OEM); контроллер СКУД устанавливается на самоклеящихся фиксаторах из комплекта поставки в проеме корпуса секции сверху под крышкой турникета.
Внимание!
Внутри секции турникета предусмотрена штатная установка считывателей карт доступа и контроллера СКУД производства компании PERCo.
При использовании оборудования сторонних производителей, они должны соответствовать следующим требованиям:
- габаритные размеры контроллера СКУД, (длина × ширина × высота), мм: не более 160×140×40
- габаритные размеры считывателя, (длина × ширина × высота), мм: не более 230×72×32
- дальность считывания идентификаторов, мм: не менее 40 (при собственной дальности считывания устанавливаемых считывателей менее 40 мм не гарантируется устойчивое считывание карт при прикладывании их к крышке турникета).
С целью максимально увеличить дальность считывания считыватели должны находится как можно ближе к верхней поверхности стеклянной крышки турникета.
Для этого предусмотрена регулировка кронштейна по высоте установки при помощи двух винтов фиксации (находятся под полкой кронштейна). Для более точной регулировки ее рекомендуется проводить при временно установленной на своем месте крышке (3) с верхним блоком индикации и при снятой торцевой панели (7).
Для удобства входы и выходы встраиваемого в турникет контроллера СКУД могут подключаться не к контактам DIN-рейки, как показано на схеме, а непосредственно к соответствующим им контактам платы управления (разъемы X2 и X3). Вариант схемы подключения представлен на рис. 18.
Примечание:
Контроллер СКУД рекомендуется устанавливать разъемом Ethernet в сторону привода створки, для более удобного в дальнейшем доступа к нему.
Для фиксации считывателей используйте двусторонний скотч. Кабели от считывателей аккуратно подведите к контроллеру СКУД (к месту ввода кабеля от контроллера СКУД), используя штатные окна в деталях корпуса секции. Для крепления кабелей применяйте самоклеящиеся площадки и кабельные стяжки.
Внимание!
Не прокладывайте внутри корпуса секции соединительные кабели и проводку через исполнительный механизм турникета во избежание выхода его из строя!
19. Проверьте правильность и надежность всех электрических соединений.
20. Проверьте правильность установки перемычек и положений переключателей на плате управления турникетом. С помощью переключателя Pulse на плате управления установите необходимый режим управления турникетом (импульсный или потенциальный), а с помощью перемычки (джампера) XP2 (Mode1) – режим работы турникета (нормально-открытый или нормально-закрытый).
21. Распакуйте створки стеклянные (1), стекла заполнения (2), стеклянные крышки секций (3), центральные вставки (4) и боковые панели (6) (ящики №2, №4).
22. Произведите монтаж деталей всех секций в следующем порядке:
Установите торцевые панели (7). Панель с торцевым блоком индикации (8) должна монтироваться со стороны секции с модулем управления индикацией, при этом к торцевому блоку индикации необходимо подсоединить соответствующий соединительный кабель от модуля управления индикацией. Для отображения на торцевом блоке индикации белой стрелки соединительный кабель должен быть подключен к разъему ARROW
модуля управления индикацией, для отображения красного креста – к разъему CROSS.
Установите центральную вставку (4).
Смонтируйте стекло заполнения (2).
Смонтируйте створки (1).
Примечание:
При необходимости в двусторонней секции PERCo-STD-02.900 уменьшить расстояние вылета створки из корпуса (для организации с одной стороны зоны прохода шириной 600 мм) необходимо смонтировать ограничитель вылета створки и установить джампер на плате привода створки
Вставьте боковые панели (6).
Смонтируйте стеклянные крышки (3), крышка с верхним блоком индикации (5) должна монтироваться со стороны секции с модулем управления индикацией, предварительно к верхнему блоку индикации необходимо подсоединить соответствующий соединительный кабель от модуля управления индикацией.
23. Проведите пробное включение каждой зоны проходы турникета.
24. Выполните совместную проверку работы всех зон прохода турникета, подавая команды управления от пультов ДУ.
После завершения монтажа и проведения проверок турникет готов к работе.
Включение турникета
Внимание!
Перед включением турникета убедитесь, что зона прохода свободна и закрытию створок ничего не препятствует.
При включении турникета придерживайтесь следующей последовательности действий:
1. Подключите сетевой кабель источника питания турникета к розетке сети с напряжением и частотой, указанными в его паспорте.
2. Включите источник питания турникета. Створки турникета автоматически приводятся в исходное положение.
3. При импульсном режиме управления автоматически подается команда «Запрет прохода», при потенциальном – «Оба направления закрыты». Турникет готов к работе.
Импульсный режим управления
Подача команд управления турникетом от пульта дистанционного управления и их индикация на секциях турникета осуществляется в соответствии с таблицей.

Направления прохода независимы друг от друга, т.е. подача команды для одного направления не изменяет состояния противоположного
направления прохода.
Обозначения кнопок и световых индикаторов пульта дистанционного управления показаны выше. При этом: После команды «Однократный проход в заданном направлении» турникет при помощи датчиков контролирует нахождение проходящего в зоне прохода. По завершению прохода турникет автоматически переходит в состояние, соответствующее команде «Запрет прохода».
После команды «Однократный проход в заданном направлении», если проход не был осуществлен или если не была подана другая команда, то по истечении Времени удержания в разблокированном состоянии (по умолчанию 8 секунд) турникет автоматически перейдет в состояние, соответствующее команде «Запрет прохода».
После подачи команды «Однократный проход в заданном направлении», если проход еще не состоялся, эта же команда для данного направления может быть подана повторно, при этом параметр Время удержания в разблокированном состоянии начинает отсчитываться заново.
После подачи команды «Однократный проход в заданном направлении» не может быть подана команда «Свободный проход» для другого направления, турникет ее проигнорирует.
После подачи команды «Свободный проход в заданном направлении» может быть подана только команда «Запрет прохода» или команда «Однократный проход в заданном направлении» для противоположного направления, другие команды турникет проигнорирует.
Потенциальный режим управления
Подача команд управления турникетом и их индикация осуществляется в соответствии с таблицей.

Направления прохода независимы друг от друга, т.е. подача команды для одного направления не изменяет состояния противоположного направления прохода.
Действия в нештатных ситуациях
Режим «Авария»
В случае возникновения препятствия свободному закрытию створок турникета предусмотрен автоматический переход турникета в режим «Авария». Режим необходим для предотвращения выхода из строя электропривода турникета вследствие перегрева.
При возникновении препятствия закрытию створок осуществляются три попытки закрытия с интервалом в 3 секунды. Если после этого препятствие не будет устранено, то турникет перейдет в режим «Авария». В режиме «Авария» створки турникета могут быть свободно раздвинуты вручную, что позволяет беспрепятственно устранить возникшее препятствие в зоне прохода. При этом на пульте дистанционного управления мигают все три световых индикатора и подается
непрерывный звуковой сигнал.
Выход из режима «Авария» происходит автоматически после устранения препятствия и освобождения зоны прохода турникета.
Режим «Fire Alarm»
При возникновении опасных ситуаций на территории объекта зону прохода турникета можно использовать в качестве дополнительного аварийного выхода.
Предусмотрена возможность перевода турникета в режим Fire Alarm от устройства аварийного открытия прохода (прибора пожарной сигнализации, аварийной кнопки и т.д.). В этом режиме, если створки турникета были закрыты, то они открываются и во всех режимах работы остаются открытыми для свободного прохода в обоих направлениях, при этом на блоках индикации одновременно для обоих направлений включаются зеленые индикаторы разрешения прохода в режиме мигания, команды управления от других устройств и ПО игнорируются.
Также при снятии (пропадании) напряжения питания створки турникета могут быть раздвинуты вручную (не блокируются).
Внимание!
Для экстренной эвакуации людей с территории предприятия в случае пожара, стихийных бедствий и других аварийных ситуаций используются соответствующие требованиям безопасности эвакуационные выходы. Таким выходом может служить, например, поворотная секция ограждения PERCo-BH02 «Антипаника».
Бренд турникета | PERCo |
Вид турникета | Турникет |
Тип турникета | C раздвижными створками |
Тип корпуса турникета | Однопроходной, Тумбовый, Напольный |
Тип привода турникета | Электромеханический |
Исполнение турникета | Для помещений |
Материал корпуса турникета | Нержавеющая сталь |
Преграждающие планки/створки | Стандартные, в комплекте, Увеличенной высоты, в комплекте, Створки |
Антипаника | Автоматическая |
Тип блокировки | Нормально открытый (НО) |
Встроенный картоприемник | Нет |
Встроенные считыватели | Без считывателей |
Пропускная способность | 60 чел/мин |
Пульт управления | 1 шт. в комплекте |
Верхняя крышка | Из стекла |
Напряжение питания | 24 В DC |
Источник питания | В комплект НЕ ВХОДИТ! (приобретается отдельно) |
Потребляемая мощность, макс. | 204 Вт |
Потребляемый ток, макс. | 8.5 А |
Габариты | 1923х1664х1482 мм |
Ширина перекрываемого прохода | 1664 мм |
Ширина прохода | 750 мм |
Вес, кг | 488 |
Рабочая температура | от +1°C до +50°C |
Рабочая влажность | не выше 80% без конденсации |
Класс защиты (IP) | IP41 |
Класс изоляции | III |
Цвет | Металл |
Наработка на отказ, не менее | 2 млн. циклов |
Средний срок службы | Не менее 8 лет |
Стыковка со СКУД | Любые типы СКУД |
Сертификаты | Транспортной безопасности |
Гарантия | 5 лет |
Страна производства | Россия |
Функция «Быстрый заказ» позволяет покупателю не проходить всю процедуру оформления заказа самостоятельно. Вы заполняете форму, и через короткое время вам перезвонит менеджер магазина. Он уточнит все условия заказа, ответит на вопросы, касающиеся качества товара, его особенностей. А также подскажет о вариантах оплаты и доставки.
По результатам звонка, пользователь либо, получив уточнения, самостоятельно оформляет заказ, укомплектовав его необходимыми позициями, либо соглашается на оформление в том виде, в котором есть сейчас. Получает подтверждение на почту или на мобильный телефон и ждёт доставки.
Оформление заказа в стандартном режиме
Если вы уверены в выборе, то можете самостоятельно оформить заказ, заполнив по этапам всю форму.
Заполнение адреса
Выберите из списка название вашего региона и населённого пункта. Если вы не нашли свой населённый пункт в списке, выберите значение «Другое местоположение» и впишите название своего населённого пункта в графу «Город». Введите правильный индекс.
Доставка
В зависимости от места жительства вам предложат варианты доставки. Выберите любой удобный способ. Подробнее об условиях доставки читайте в разделе «Доставка».
Оплата
Выберите оптимальный способ оплаты. Подробнее о всех вариантах читайте в разделе «Оплата»
Покупатель
Введите данные о себе: ФИО, адрес доставки, номер телефона. В поле «Комментарии к заказу» введите сведения, которые могут пригодиться курьеру, например: подъезды в доме считаются справа налево.
Оформление заказа
Проверьте правильность ввода информации: позиции заказа, выбор местоположения, данные о покупателе. Нажмите кнопку «Оформить заказ».
Наш сервис запоминает данные о пользователе, информацию о заказе и в следующий раз предложит вам повторить к вводу данные предыдущего заказа. Если условия вам не подходят, выбирайте другие варианты.
Если Вы хотите узнать об условиях доставки и оплаты, но не желаете о них читать, то Вы можете позвонить любому нашему сотруднику, и он обязательно Вам поможет.
Покупка за безналичный расчет
При оплате за безналичный расчет наш сотрудник свяжется с Вами, чтобы подтвердить заказ и уточнить сроки и адрес доставки. После оформления заказа сотрудник нашей компании вышлет вам счет, по которому необходимо будет произвести оплату.
После оплаты заказа к Вам приедет наш курьер, который доставит ваш заказ.
Самостоятельно забрать заказ из пунктов самовывоза Вы можете после его оплаты по безналичному расчету. Оплата доставки до пунктов выдачи транспортных компаний производится по тарифам выбранной Вами транспортной компании непосредственно в месте получения заказа.
Самовывоз из офиса нашей компании в Зеленограде, так же возможен после предоплаты по безналичному расчету, и предварительной договоренности с менеджером.
Интернет-магазин выполняет доставку любого товара своей собственной Службой доставки.
Стоимость доставки курьером
Стоимость доставки по Москве, Все товары —750 руб., бесплатная доставка от 25000 руб
Стоимость доставки по Московской области рассчитывается для каждого заказа индивидуально и зависит от суммарного веса товаров заказа и удаленности адреса доставки.
Время доставки
Время доставки согласовывается с менеджером Службы доставки, который обязательно свяжется с вами сразу после того, как вы разместите свой заказ.
Для осуществления доставки в регионы России мы пользуемся услугами компаний СДЭК, ЖелДорЭкспедиция, Автотрейдинг, Деловые Линии. В таком случае, указанными кампаниями взимается стоимость доставки по их внутренним тарифам с заказчика при получении товара.
Самовывоз
Забрать товар самостоятельно и абсолютно бесплатно можно только по адресу: Москва, Зеленоград, Панфиловский проспект, дом 10.
Забрать товар самовывозом можно по любому из адресов самовывоза указанных здесь, стоимость доставки до пункта самовывоза рассчитывается для каждого заказа по тарифам транспортных компаний.









