Турникет платного доступа – готовое решение для прохода по фиксированному тарифу с возможностью его изменения. Применяется в местах проведения развлекательных мероприятий, музеях, парках аттракционов, общественных туалетах, на смотровых площадках и других объектах.
Турникет оснащен встроенным платежным терминалом Vendotek VX и позволяет организовать платный доступ по фиксированному тарифу с возможностью его изменения.
Предусмотрена возможность быстрого освобождения зоны прохода в экстренных ситуациях или при аварийном отключении питающего напряжения.
Особенности
• Удобство получения чека в виде QR-кода
• Подключение к сети Интернет осуществляется с помощью предустановленной сим-карты с безлимитным тарифом
• Готовое решение по организации эквайринга
• Подключение к ККТ осуществляется онлайн, приобретение физического ККТ не требуется
• Наличие счетчика проходов (опционально)
• Возможность установки считывателей или терминалов распознавания лиц для прохода обслуживающего персонала
• Встроенная система бесперебойного питания платежного терминала для непрерывной связи с банком-эквайером и ОФД
• Удобный личный кабинет для изменения тарифа, просмотра истории платежей и настройки платежного терминала
• Возможность эксплуатации на открытом воздухе при организации решения на базе всепогодного турникета
Решение может быть реализовано на базе различных моделей турникетов.
Турникет оборудован автоматическими планками «Антипаника», складывающихся по сигналу аварийной разблокировки или при пропадании питания, и выполнен из высококачественной нержавеющей стали.
Корпус турникета выполнен из нержавеющей стали. Допускается установка турникета на открытом воздухе (в стандартной модификации PERCo-TTD-10AB).
Турникет по устойчивости к воздействию климатических факторов соответствует условиям У1 по ГОСТ 15150-69 (для эксплуатации на открытом воздухе).
Установка турникета без навеса возможна только в районах, соответствующих данным климатическим условиям.
Эксплуатация турникета стандартной модификации PERCo-TTD-10A (без картоприемника / монетоприемника) разрешается на открытом воздухе при температуре окружающего воздуха от –20°С до +50°С (при использовании под навесом до +55°С) и относительной влажности воздуха до 90% при +30°С.
Терминал Vendista реализуется в исполнении IP67, что также позволяет использовать его на улице, температурный диапазон от -20°С до +50°С.
Комплект поставки:
• Турникет со встроенной электроникой управления: 1 шт.
• Платежный терминал Vendotek VX со специальной прошивкой и кабелем для работы с устройствами PERCo: 1 шт.
• Боковая крышка PERCo-C-10V для установки терминала Vendista: 1 шт.
• Соединительный кабель для подключения терминала к турникету PERCo: 1 шт.
• Автоматические преграждающие планки "Антипаника": 3 шт.
• ПДУ с кабелем: 1 шт.
• Сборочно-монтажные принадлежности
• Паспорт: 1 экз.
• Руководство по эксплуатации: 1 экз.
Не входят в комплект поставки:
• источник питания LRS-100-12
• Устройство радиоуправления (состоит из приемника и двух передатчиков в виде брелоков, с дальностью действия до 40 м)
• Анкер PFG IR 10-15 4 шт.
Алгоритм работы
• Оплата производится с помощью банковской карты – физической или эмулированной на смартфоне с NFC модулем
• После списания средств и подтверждения транзакции платежный терминал подает сигнал для разрешения прохода
• Посетитель проходит через турникет. На экране терминала отображается кассовый чек в виде QR-кода. При желании клиент сканирует QR-код с помощью установленного на смартфон приложения ФНС и получает изображение кассового чека. Чек также автоматически сохраняется в личном кабинете клиента данного приложения
• После прохода через турникет QR-код чека сбрасывается и платежный терминал переходит в режим ожидания следующего прохода
Рекомендации:
Для организации платного доступа необходимо:
• Зарегистрироваться на портале p.vendista.ru
• Заключить договор с банком на предоставление услуг по эквайрингу
• Выбрать оператора онлайн касс
Особенности работы
• Оплата сопровождается отправкой фискальных данных в ОФД в соответствии с 54-ФЗ РФ
• Настройка терминала производится через web-интерфейс
• Возможность просмотра всех платежей, а также отмены оплаты с последующим возвратом средств на карту при помощи Web-интерфейса
Данная модель турникета оснащена преграждающими планками PERCo-AS-04.
Так же имеются модели с планками:
• PERCo-AS-05 - окрашенная сталь, цвет черный муар
• Механическая "Антипаника" PERCo-AA-04 из нержавеющей стали
При необходимости турникеты могут комплектоваться ограждениями.
Преимущества турникета платного доступа PERCo:
• Турникеты PERCo характеризуются повышенным комфортом при проходе, что достигается плавным доворотом планок без дополнительных усилий за счет использования демпферных устройств или встроенного электропривода. Скоростные проходы PERCo имеют автоматические створки с возможностью полного перекрытия прохода по высоте.
• Приобретение контрольно-кассовой техники и фискального накопителя отдельно не требуется, терминал Vendista работает через сервисы онлайн касс.
• Не требуется физическое подключение к сети интернет и его оплата – в терминал Vendista встроена SIM-карта, предоплаченная на 10 лет работы.
• Простая настройка тарифа – стоимость предоставляемой услуги платного доступа определяется заказчиком, с возможностью ее изменения в дальнейшем онлайн.
• Платежный терминал Vendistа позволяет после оплаты вывести чек по операции в виде QR-кода с ссылкой на электронный чек. Это позволяет сэкономить на принтере чековой ленты и его расходниках, а также обеспечивает более высокую пропускную способность проходной. При необходимости получения бумажного чека, либо клиент самостоятельно, либо оператор, предоставляющий услугу, могут распечатать его на любом офисном принтере.
• Предусмотрена возможность просмотра всех платежей и чеков к ним онлайн при помощи веб-интерфейса, а также отмены операции с последующим возвратом средств на банковскую карту, с которой был произведен платеж.
• Встроенный в терминал Vendistа аккумулятор позволяет работать при сбое питания до 20 минут. При появлении питания не потребуется дополнительная перезагрузка терминала, его повторное подключение к банку и к сети интернет, что позволяет возобновить работу системы без задержек.
Примечание:
Следует иметь в виду, что для нормально открытых турникетов PERCo необходимо будет предусмотреть аварийное питание от АКБ с целью исключения несанкционированного прохода в случае перебоев с питанием.
• Для контроля количества посетителей имеется возможность установки счетчика проходов внутри турникета.
• Для автоматизированного прохода на объект персонала необходима дополнительная установка идентифицирующих устройств, например, терминалов распознавания лиц или бесконтактных считывателей с контроллером СКУД. Компания PERCo предлагает целый ряд различных решений для реализации такой необходимости, например, электронные проходные со встроенными считывателями и контроллерами СКУД.
Терминалы Vendista прошли сертификацию по международным стандартам безопасности для операций по банковским картам с чипом.
Устройство турникета

1 – основная стойка;
2 – крышка основная;
3 – блок индикации основной крышки;
4 – замок крышки;
5 – планка преграждающая;
6 – боковые модули стандартные;
7 – блоки постоянной индикации направления прохода / запрета прохода;
8 – боковые крышки
9 – кабель источника питания
10 – ПДУ с кабелем;
11 – кабель устройства аварийного открытия прохода (Fire Alarm)
12 – кабель к дополнительному оборудованию
13 – боковой модуль со встроенным картоприемником;
14 – крышка контейнера картоприемника;
15 – замок крышки контейнера картоприемника;
16 – боковая крышка с щелью для карт картоприемника;
17 – боковой модуль со встроенным монетоприемником;
18 – крышка монетосборника;
19 – замок крышки монетосборника;
20 – монетоприемник.
Турникет состоит из основной стойки (1) с установленным маховиком и тремя преграждающими планками (5), основной крышки (2) с блоком индикации (3) и замком (4), двух боковых модулей (6 – для модификации PERCo-TTD-10AB, 6 и 13 – для PERCo-TTD-10AС, 6 и 17 – для PERCo-TTD-10APR (PERCo-TTD-10APE)) с блоками постоянной индикации направления прохода / запрета прохода (7) и с боковыми крышками (8), а также ПДУ (10). Крепление преграждающих планок к маховику – шарнирное. Турникет крепится к установочной поверхности четырьмя
анкерными болтами через отверстия в основании стойки.
Основная стойка
Чтобы получить доступ к внутренним элементам основной стойки турникета, необходимо снять основную крышку (2). Фиксация основной крышки на стойке осуществляется при помощи замка (4). Во время работы турникета основная крышка должна быть закрыта. Под основной крышкой расположен кронштейн с платой управления PERCo-CLB.140 (далее – плата управления) и выносными клеммными колодками XTU1, XTU2, XTU3 (см. рис. 15). В основную крышку турникета также встроен блок индикации (3), который кабелем индикации крышки через клеммную колодку XTU3 соединяется с платой управления.
Роль исполнительного механизма турникета выполняет узел вращения преграждающих планок. Узел вращения состоит из:
• механизма управления с оптическими датчиками угла поворота преграждающих планок, позволяющими корректно фиксировать факт прохода;
• поворотного механизма, в состав которого входят:
- устройство доворота преграждающих планок (толкатель, пружины и ролик), обеспечивающее автоматический возврат планок до исходного положения после каждого прохода;
- демпфирующее устройство, обеспечивающее плавную бесшумную работу поворотного механизма;
- блокирующее устройство, предотвращающее возможность несанкционированного прохода;
• электромагнитного механизма аварийного открытия прохода.
Для доступа к узлу вращения необходимо снять основную крышку (3) и кронштейн с платой управления.
Боковые модули
Покупатель (заказчик) имеет возможность выбрать подходящий ему вариант исполнения турникета. Различные модификации турникета, отличающиеся конструкцией боковых модулей (6, 13, 17), т.е. наличием / отсутствием встроенного картоприемника / монетоприемника. Боковые модули жестко закрепляются на основной стойке (1). Сверху на боковые модули устанавливаются боковые крышки (8), которые могут нести различное функциональное назначение в соответствии со своим типом. На боковых модулях турникета расположены блоки постоянной индикации направления прохода / запрета прохода). При снятии боковых модулей обеспечивается доступ к четырем отверстиям в основании стойки для крепления турникета к установочной поверхности.
Боковой модуль со встроенным картоприемником
В боковой модуль (13) встроен механизм картоприемника с установленной платой управления картоприемника PERCo-PA-450. В боковом модуле под крышкой (14), фиксируемой в закрытом положении замком (15), находится контейнер для сбора карт с функцией сигнализации о его заполнении. Боковой модуль оборудован боковой крышкой (16) с щелью для приема карт доступа (возможность замены данной крышки на боковую крышку другого типа изготовителем не предусмотрена).
Приемная щель имеет светодиодную подсветку. Внутри модуля предусмотрен специальный кронштейн для установки считывателя бесконтактных карт (считыватель приобретается отдельно). При установке считывателя на кронштейне считывание идентификатора с карты будет происходить при нахождении карты в приемной щели картоприемника. Использование картоприемника возможно только в составе СКУД. Схема подключения приведена.
Боковой модуль со встроенным монетоприемником
В боковой модуль (17) встроен монетоприемник (20) типа UCA2 производства компании ICT, предназначенный для приема монет (жетонов) оплаты прохода без функции выдачи сдачи. Установка сортировочного агрегата не предусмотрена. С помощью встроенных датчиков монетоприемник определяет номинал и (или) подлинность монеты (жетона). Также для контроля количества проходов в боковом модуле установлен счетчик импульсов Yenox H2-7EA2. Монетоприемник и счетчик импульсов должны использоваться в соответствии с документацией производителя.
В боковом модуле под боковой крышкой (18), фиксируемой в закрытом положении замком (19), находится контейнер монетосборника с функцией сигнализации о его заполнении. Контейнер оборудован крышкой с замком для предотвращения краж.
Для удобства подключения выходы и входы монетоприемника выведены на выносную клеммную колодку XTU4. Возможно комплексное использование турникета и монетоприемника без применения СКУД.
Блоки индикации
Для информирования о текущем состоянии и установленном режиме работы турникета на основной крышке расположен блок индикации основной крышки (3). Блок индикации имеет три пиктографических индикатора:
– индикатор разрешения прохода в одном из направлений (зеленая стрелка)
– индикатор запрета прохода (красный крест)
– индикатор разрешения прохода в другом направлении (зеленая стрелка)
Блоки постоянной индикации (7) на боковых модулях предназначены для указания направления прохода / запрета прохода через турникет. На них отображается постоянная индикация: либо белая стрелка, либо красный крест:
– индикатор запрещения прохода через турникет в данном направлении (красный крест)
– индикатор, указывающий направление санкционированного прохода (белая стрелка)
Пульт дистанционного управления (10) выполнен в виде небольшого настольного прибора в корпусе из ударопрочного АБС-пластика и предназначен для подачи команд оператором при ручном режиме управления турникетом.
На лицевой панели ПДУ расположены три кнопки для подачи команд. Средняя кнопка STOP предназначена для подачи команды «Запрет прохода». Левая и правая кнопки LEFT, RIGHT предназначены для подачи команды разблокировки турникета в выбранном направлении. Над кнопками расположены светодиодные индикаторы состояния поворотного механизма турникета. Красный индикатор «Stop» указывает на то, что оба направления прохода заблокированы.
Технические характеристики:
• Напряжение питания: 12±1,2 VDC
• Потребляемый ток, не более: 7 А
• Потребляемая мощность, не более: 84 W
• Габаритные размеры:
- с опущенной преграждающей планкой: 1361×240×1024
- с преграждающей планкой в рабочем положении: 1361×750×1024
• Ширина зоны прохода: 560 мм
• Масса турникета: не более 100 кг
• Пропускная способность в режиме однократного прохода 30 чел/мин
• Пропускная способность в режиме свободного прохода 60 чел/мин
• Усилие поворота преграждающей планки, кгс: не более 3
• Длина кабеля ПДУ, м: не менее 6,6
• Объем контейнера картоприемника, карт: до 350
• Объем монетосборника, монет достоинством 10 руб.: не менее 2 000
• Степень защиты оболочки:
- TTD-10AB: IP55 по EN 60529
- TTD-10AC: IP41 по EN 60529
- TTD-10AP: IP54 по EN 60529
• Класс защиты от поражения электрическим током: III по ГОСТ Р МЭК335-1-94
• Средняя наработка на отказ, не менее: 4 000 000 проходов
• Средний срок службы, не менее: 8 лет

Подключение
Турникет TTD-10А оснащен платой встроенной электроники CLB.140. Все подключения производятся к контактам этой платы через выносные колодки XTU1 – XTU3. Установленный на плате микроконтроллер управляет исполнительным механизмом турникета, обрабатывает сигналы от оптических датчиков поворота преграждающих планок, обрабатывает поступающие от внешних устройств команды, формирует сигналы о проходе через турникет.
Алгоритм управления
Управлять турникетом можно либо от пульта дистанционного управления (входит в комплект поставки), либо от устройства радиоуправления, либо от контроллера СКУД.
Управление турникетом осуществляется подачей на контакты Unlock A, Stop и Unlock B сигнала низкого уровня относительно контакта GND. Реакция турникета на эти сигналы зависит от выбранного перемычкой J1 режима управления турникетом.
Импульсный режим управления – при подаче импульса на вход Unlock A/B турникет разблокируется для однократного прохода в выбранном направлении; время ожидания прохода не зависит от длительности управляющего импульса и составляет 5 сек.; подача импульса на
вход Stop блокирует оба направления прохода; одновременная подача импульсов на входы Unlock A/B и Stop переводит турникет в режим работы «Свободный проход» в выбранном направлении.
Импульсный режим рекомендуется использовать при управлении от пульта дистанционного управления или устройства радиоуправления. Изменить ориентацию пульта относительно установки турникета (если по месту установки турникет обращен к оператору не лицевой, а тыльной стороной) можно, поменяв местами провода от пульта управления, подключаемые на контакты Unlock A и Unlock B, а также Led A и Led B соответственно.
Потенциальный режим управления – при подаче управляющего сигнала на вход Unlock A/B турникет остается разблокированным в выбранном направлении в течение всего времени удержания сигнала; подача управляющего сигнала на вход Stop блокирует оба направления прохода турникета независимо от сигналов на входах Unlock A/B.
Потенциальный режим рекомендуется использовать при управлении от контроллера СКУД.
Вне зависимости от выбранного режима управления, при повороте преграждающих планок турникета в одном или другом направлении формируются сигналы прохода – соответственно PASS A или PASS B. Эти сигналы могут информировать контроллер СКУД о факте прохода.
Аварийное открытие прохода турникета осуществляется снятием с контакта Fire Alarm сигнала низкого уровня относительно контакта GND.
Монтаж
Монтаж турникета является ответственной операцией, от которой в значительной степени зависит работоспособность и срок службы изделия. Монтаж должен выполняться силами не менее двух человек, имеющих квалификации монтажника и электрика не ниже 3-го разряда. До начала монтажных работ необходимо внимательно изучить данный раздел и в дальнейшем следовать изложенным в нем инструкциям.
Рекомендации по подготовке установочной поверхности:
Стойку турникета необходимо устанавливать на прочные и ровные бетонные (не ниже марки 400, группа прочности В22,5), каменные и т.п. основания, имеющие толщину не менее 150 мм.
Установочную поверхность необходимо выровнять так, чтобы точки крепления стойки турникета лежали в одной горизонтальной плоскости (контролировать с помощью уровня).
При установке стойки турникета на менее прочное основание необходимо применять закладные фундаментные элементы, размером не менее 400×400×300 мм. Также возможно применение рамного основания.
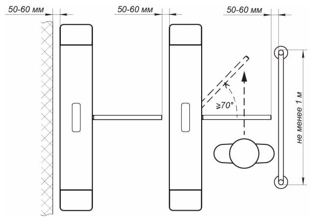
Рекомендации по организации зоны прохода:
При проходе через турникет в случае работы турникета под управлением контроллера СКУД для регистрации события прохода необходимо осуществить поворот преграждающих планок на угол не менее 70°. Для обеспечения такого угла поворота при организации зоны прохода следуйте рекомендациям

Турникет снабжен механизмом доворота преграждающих планок. При повороте планок на угол более 67° происходит доворот преграждающей планки в направлении прохода (при этом возврат планок в исходное положение невозможен, происходит блокировка обратного прохода). При повороте преграждающих планок на угол менее 67° происходит возврат планок в исходное положение.
При организации зоны прохода также необходимо предусмотреть дополнительный аварийный выход. Таким выходом может служить, например, поворотная секция ограждения PERCo-BH02 «Антипаника».
При монтаже турникета придерживайтесь следующей последовательности действий:
1. Установите источник питания на отведенное для него место (порядок монтажа источника питания указан в его эксплуатационной документации).
2. Подготовьте в полу отверстия под гильзы анкеров для крепления стойки турникета согласно рисунку:

3. При необходимости прокладки кабелей под поверхностью пола подготовьте в полу кабельный канал, подходящий к зоне ввода этих кабелей в стойку турникета. Прокладка кабелей внутри стойки показана в Руководстве по эксплуатации.
4. Вставьте гильзы анкеров в выполненные отверстия так, чтобы они не выступали над поверхностью пола.
5. Распакуйте основную стойку турникета. Снимите крышку турникета (2).
6. Установите стойку турникета на гильзы анкеров, предварительно протянув в нее соединительные кабели, и закрепите ее болтами М10 через отверстия в основании.
7. Подключите кабель (9) от ИП к выносной клеммной колодке XTU1 согласно схеме подключения.
8. При необходимости произведите установку платы внешнего контроллера СКУД внутри стойки турникета на кронштейне (9) и подключите его к плате управления CLB.
9. Подключите кабель ПДУ (10) или приемник РУ к выносной клеммной колодке XTU2 или к внешнему контроллеру СКУД (см. РЭ на контроллер).
10.Подключите при необходимости кабели от других устройств к соответствующим клеммным колодкам платы управления.
11.При помощи перемычки J1 выберите необходимый режим управления турникетом (импульсный или потенциальный).
12.Распакуйте боковые модули (6, 13 или 17) и боковые крышки (8) (упакованы отдельно).
Внимание! В случае установки турникета на улице вне помещений необходимо герметизировать места установки боковых крышек. Для этой цели используйте резиновый профильный уплотнитель (входит в комплект поставки для каждого стандартного бокового модуля). Приклейте его на верхнюю грань модуля вплотную к кромке окна для боковой крышки по всему его периметру. В местах отверстий для крепления крышки уплотнитель должен находиться между кромкой окна и отверстием, не закрывая его. Обратите внимание, чтобы при последующей установке крышки уплотнитель не вылезал из-под нее и обеспечил плотное прилегание крышки к корпусу бокового модуля.
13.Смонтируйте боковые крышки на боковых модулях. При необходимости в боковых модулях под боковыми крышками или на них произведите установку необходимого оборудования.
Внимание! Предусмотрена возможность установки считывателей карт доступа производства компании PERCo внутри боковых модулей на специальные кронштейны. При установке считывателей сторонних производителей они должны соответствовать следующим техническим характеристикам:
- габаритные размеры считывателя, мм: не более 175×120×50
- дальность считывания идентификаторов, мм: не менее 50
При установке другого доп. оборудования боковые крышки приобретаются отдельно под конкретное оборудование (см. разд. 4.2 и Приложение 1).
14.Определите, какой из боковых модулей (стандартный (6), с картоприемником (13) или с монетоприемником (17)) будет являться левым, а какой правым для стойки турникета. Обратите внимание, чтобы стрелки на блоках постоянной индикации (7) показывали в сторону прохода через турникет. При необходимости поменяйте блоки индикации боковых модулей местами.
Для снятия блока постоянной индикации (7):
• у стандартного бокового модуля:
- снимите пластину (4), для чего открутите 6 винтов (7),
- снимите кронштейн (3), для чего открутите 4 гайки с шайбами (6),
- отсоедините разъем кабеля индикации стойки от платы блока индикации,
- снимите блок индикации (2), для чего открутите 4 гайки с шайбами (5).
• у бокового модуля с картоприемником (монетоприемником):
- откройте ключом замок крышки контейнера (33) и потяните ее за ключ на себя до упора,
- отсоедините разъем кабеля индикации стойки от платы блока индикации,
- снимите блок индикации (2, рис. 23), для чего открутите 4 гайки с шайбами (4).
Установка блоков индикации производится в обратном порядке. Перед установкой поставьте на обоих блоках индикации перемычку-джампер
CROSS / ARROW в нужное положение. При необходимости двумя регулировочными винтами отрегулируйте совмещение наружных плоскостей блока индикации и корпуса бокового модуля.
15.Установите на место боковые модули, каждый в следующем порядке:
- наклонив верх бокового модуля на себя, вставьте его низ на соответствующее место в стойке турникета;
- придерживая боковой модуль, аккуратно проложите кабель индикации от бокового модуля к кронштейну платы управления в основной стойке так, чтобы не повредить его при дальнейшей установке бокового модуля;
- заведите верх бокового модуля на место, при этом отверстия в его верхней монтажной планке должны совместиться с соответствующими резьбовыми втулками в корпусе стойки турникета;
- зафиксируйте боковой модуль при помощи двух винтов М5×12 с двумя шайбами каждый – пружинной и плоской увеличенной , винты и шайбы входят в комплект поставки основной стойки турникета;
- присоедините разъем кабеля индикации от бокового модуля к соответствующему (правому «R» или левому «L») разъему кабеля индикации от основной стойки (10).
16.Проверьте правильность и надежность всех электрических подключений. При помощи площадок самоклеящихся и стяжек неоткрывающихся из комплекта поставки закрепите все кабели.
17.Установите на место основную крышку турникета (2).
18.Проведите пробное включение и проверку работы турникета.
Турникет готов к работе.
Включение турникета
При включении турникета придерживайтесь следующей последовательности действий:
1. Подключите сетевой кабель источника питания турникета к сети с напряжением и частотой, указанными в паспорте на этот источник питания.
2. Включите источник питания турникета. При установленном импульсном режиме управления автоматически будет подана команда «Запрет прохода», при потенциальном режиме управления «Оба направления закрыты». На блоке индикации (3) появится индикация запрета прохода (красный крест). На ПДУ (10) загорится индикатор, расположенный над кнопкой STOP.
3. Переведите планку преграждающую (5) в рабочее положение, подняв ее вверх до упора. В этом положении планка автоматически зафиксируется.
4. Проверьте работу ДКЗП и сирены при их наличии, а также работу другого установленного дополнительного оборудования в соответствии с их
эксплуатационной документацией.
Действия в аварийных ситуациях
В аварийных и нештатных ситуациях (например, при выходе из строя ИП) зону прохода турникета можно использовать в качестве дополнительного аварийного выхода.
Предусмотрена возможность перевода турникета в режим Fire Alarm от устройства аварийного открытия прохода (прибора пожарной сигнализации, аварийной кнопки и т.д.). В этом режиме преграждающая планка турникета, перекрывающая зону прохода, опускается вниз (принимает вертикальное положение) и освобождает проход в обоих направлениях, на блоке индикации мигают зеленые стрелки,
команды управления от других устройств и ПО игнорируются.
Также открытие зоны прохода турникета выполняется автоматически при снятии (пропадании) напряжения питания турникета.
Внимание! Для экстренной эвакуации людей с территории предприятия в случае пожара, стихийных бедствий и других аварийных ситуаций используются соответствующие требованиям безопасности эвакуационные выходы. Таким выходом может служить, например, поворотная секция ограждения PERCo-BH02 «Антипаника».
Бренд турникета | PERCo |
Вид турникета | Турникет со встроенным платежным терминалом |
Тип турникета | Трипод |
Тип корпуса турникета | Однопроходной, Тумбовый, Напольный |
Тип привода турникета | Электромеханический |
Исполнение турникета | Уличное (под навесом) |
Материал корпуса турникета | Нержавеющая сталь |
Преграждающие планки/створки | Антипаника, в комплекте |
Антипаника | Автоматическая |
Тип блокировки | Нормально закрытый (НЗ) |
Встроенный картоприемник | Нет |
Встроенные считыватели | Без считывателей |
Пропускная способность | 30 чел/мин |
Пульт управления | 1 шт. в комплекте |
Напряжение питания | 12 В |
Источник питания | В комплект НЕ ВХОДИТ! (приобретается отдельно) |
Потребляемая мощность, макс. | 84 Вт |
Потребляемый ток, макс. | 7 А |
Габариты | 1361х750х1024 мм |
Ширина перекрываемого прохода | 750 мм |
Ширина прохода | 560 мм |
Вес, кг | 100 |
Рабочая температура | от -20°C до +50°C |
Рабочая влажность | не выше 90% без конденсации |
Класс защиты (IP) | IP55 |
Наработка на отказ, не менее | 4 млн. циклов |
Средний срок службы | Не менее 8 лет |
Стыковка со СКУД | Любые типы СКУД |
Сертификаты | Транспортной безопасности |
Гарантия | 5 лет |
Страна производства | Россия |
Функция «Быстрый заказ» позволяет покупателю не проходить всю процедуру оформления заказа самостоятельно. Вы заполняете форму, и через короткое время вам перезвонит менеджер магазина. Он уточнит все условия заказа, ответит на вопросы, касающиеся качества товара, его особенностей. А также подскажет о вариантах оплаты и доставки.
По результатам звонка, пользователь либо, получив уточнения, самостоятельно оформляет заказ, укомплектовав его необходимыми позициями, либо соглашается на оформление в том виде, в котором есть сейчас. Получает подтверждение на почту или на мобильный телефон и ждёт доставки.
Оформление заказа в стандартном режиме
Если вы уверены в выборе, то можете самостоятельно оформить заказ, заполнив по этапам всю форму.
Заполнение адреса
Выберите из списка название вашего региона и населённого пункта. Если вы не нашли свой населённый пункт в списке, выберите значение «Другое местоположение» и впишите название своего населённого пункта в графу «Город». Введите правильный индекс.
Доставка
В зависимости от места жительства вам предложат варианты доставки. Выберите любой удобный способ. Подробнее об условиях доставки читайте в разделе «Доставка».
Оплата
Выберите оптимальный способ оплаты. Подробнее о всех вариантах читайте в разделе «Оплата»
Покупатель
Введите данные о себе: ФИО, адрес доставки, номер телефона. В поле «Комментарии к заказу» введите сведения, которые могут пригодиться курьеру, например: подъезды в доме считаются справа налево.
Оформление заказа
Проверьте правильность ввода информации: позиции заказа, выбор местоположения, данные о покупателе. Нажмите кнопку «Оформить заказ».
Наш сервис запоминает данные о пользователе, информацию о заказе и в следующий раз предложит вам повторить к вводу данные предыдущего заказа. Если условия вам не подходят, выбирайте другие варианты.
Если Вы хотите узнать об условиях доставки и оплаты, но не желаете о них читать, то Вы можете позвонить любому нашему сотруднику, и он обязательно Вам поможет.
Покупка за безналичный расчет
При оплате за безналичный расчет наш сотрудник свяжется с Вами, чтобы подтвердить заказ и уточнить сроки и адрес доставки. После оформления заказа сотрудник нашей компании вышлет вам счет, по которому необходимо будет произвести оплату.
После оплаты заказа к Вам приедет наш курьер, который доставит ваш заказ.
Самостоятельно забрать заказ из пунктов самовывоза Вы можете после его оплаты по безналичному расчету. Оплата доставки до пунктов выдачи транспортных компаний производится по тарифам выбранной Вами транспортной компании непосредственно в месте получения заказа.
Самовывоз из офиса нашей компании в Зеленограде, так же возможен после предоплаты по безналичному расчету, и предварительной договоренности с менеджером.
Интернет-магазин выполняет доставку любого товара своей собственной Службой доставки.
Стоимость доставки курьером
Стоимость доставки по Москве, Все товары —750 руб., бесплатная доставка от 25000 руб
Стоимость доставки по Московской области рассчитывается для каждого заказа индивидуально и зависит от суммарного веса товаров заказа и удаленности адреса доставки.
Время доставки
Время доставки согласовывается с менеджером Службы доставки, который обязательно свяжется с вами сразу после того, как вы разместите свой заказ.
Для осуществления доставки в регионы России мы пользуемся услугами компаний СДЭК, ЖелДорЭкспедиция, Автотрейдинг, Деловые Линии. В таком случае, указанными кампаниями взимается стоимость доставки по их внутренним тарифам с заказчика при получении товара.
Самовывоз
Забрать товар самостоятельно и абсолютно бесплатно можно только по адресу: Москва, Зеленоград, Панфиловский проспект, дом 10.
Забрать товар самовывозом можно по любому из адресов самовывоза указанных здесь, стоимость доставки до пункта самовывоза рассчитывается для каждого заказа по тарифам транспортных компаний.



















