Моторизованный турникет-трипод TTR-11A применяется в качестве преграждающего устройства в системах платного доступа, а также для управления потоками людей на проходных промышленных предприятий, в банках, административных учреждениях, магазинах, вокзалах, аэропортах.
Внутри турникета предусмотрены кронштейны для встраивания RFID-считывателей (как производства компании PERCo, так и сторонних производителей), сверху на турникете нанесены пиктограммы для обозначения мест поднесения карт доступа.
• Плавный доворот планок за счет встроенного электропривода
• Автоматические планки «Антипаника»
• Возможность установки считывателей под радиопрозрачной крышкой
• Интеграция с дополнительным оборудованием
• Исполнение для эксплуатации на открытом воздухе под навесом, защищающим от прямого попадания атмосферных осадков
В турникете предусмотрена возможность быстрого освобождения зоны прохода в экстренных ситуациях или при аварийном отключении питающего напряжения.
Управление турникетом возможно как от системы контроля доступа, так и автономно с помощью пульта дистанционного управления или устройства радиоуправления (приобретается отдельно).
Плата блока управления конструктивно размещена в корпусе турникета. После каждого прохода механизм доворота переводит преграждающие планки в исходное положение. Плавный доворот планок осуществляется за счет встроенного электропривода.
Специальный вход управления Fire Alarm позволяет подключать устройство, подающее команду аварийной разблокировки (например, от пожарной сигнализации).
Возможно подключение к турникету датчика контроля зоны прохода и сирены.
Для обеспечения быстрого и удобного прохода людей рекомендуется устанавливать по одному турникету на каждые 500 человек, работающих в одну смену, или из расчета пиковой нагрузки 30 человек в минуту.
Установка турникета без навеса возможна только в районах, соответствующих данным климатическим условиям.
Турникет по устойчивости к воздействию климатических факторов соответствует условиям У1 по ГОСТ 15150-69 (для эксплуатации на открытом воздухе).
Эксплуатация турникета разрешается при температуре окружающего воздуха от –40°С до +50°С (при использовании под навесом до +55°С) и относительной влажности воздуха до 80% при +25°С.
Пульт дистанционного управления, входящий в комплект поставки турникета, по устойчивости к воздействию климатических факторов соответствует категории УХЛ4 по ГОСТ15150-69 (для эксплуатации в помещениях с искусственно регулируемыми климатическими условиями). Эксплуатация пульта дистанционного управления разрешается при температуре окружающего воздуха от +1°С до +40°С и относительной влажности воздуха до 80% при + 25°С.
Комплект поставки
• Турникет со встроенной электроникой управления: 1 шт.
• Планки Антипаника: 3 шт.
• Пульт дистанционного управления: 1 шт.
• Паспорт и руководство по эксплуатации: 1 экз.
В комплект не входят и приобретаются отдельно:
• Блок питания LRS-150-24 стабилизированный
• Считыватели карт доступа
Дополнительное оборудование для установки терминалов распознавания лиц
• Стойка C-11P.1 для Suprema FaceStation 2 и Suprema FaceLite
• Стойка C-11P.2 для ZKTeco FaceDepot-7B, ZKTeco ProFaceX, ZKTeco SpeedFace-V5
• Кронштейн BS10 для Suprema FaceStation 2
• Кронштейн BS11 для Suprema FaceLite
• Кронштейн BS7B для ZKTeco FaceDepot-7B
• Кронштейн BS8 для ZKTeco ProFaceX
• Кронштейн BS9 для ZKTeco SpeedFace-V5
Дополнительное оборудование для установки алкотестеров
• Стойка C-11P.2 для Алкобарьер и Динго В-02
• Кронштейн BS12 для Алкобарьер
• Кронштейн BS13 для Динго В-02
Основные технические характеристики
• Напряжение питания турникета (постоянного тока), В: 22÷29
• Ток потребления, А: не более 5,5
• Мощность, потребляемая турникетом, Вт: 15÷150
• Пропускная способность турникета, чел/мин:
- в режиме свободного прохода: 60
- в режиме однократного прохода: 30
• Ширина зоны прохода, мм: 500
• Усилие поворота преграждающей планки, кгс: не более 1.5
• Длина кабеля пульта дистанционного управления, м: не менее 6,6
• Степень защиты оболочки: IP42 по EN 60529
• Класс защиты от поражения электрическим током: III (IEC 61140)
• Степень вандалозащищенности: IK09 (ГОСТ IEC 62262)
• Степень стойкости к вибрации: М28 и М29 (ГОСТ17516.1-90)
• Средняя наработка на отказ, проходов: не менее 3 000 000
• Средний срок службы, лет: не менее 8
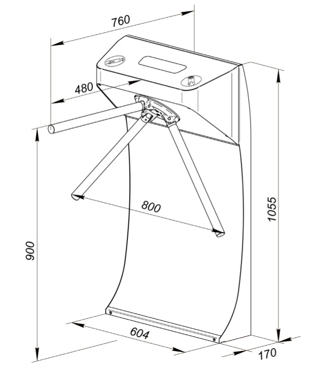
• Габаритные размеры с поднятой преграждающей планкой: 800×760×1055 мм
• Масса (нетто), кг: не более 75

Основные особенности
• Турникет предназначен для работы как на открытом воздухе, так и внутри салонов транспортных средств и в помещениях. Корпус турникета выполнен из высококачественной нержавеющей стали со вставкой из поликарбоната.
• Турникет может работать как автономно, от пульта дистанционного управления или устройства радиоуправления, так и в составе СКУД.
• Турникет оборудован автоматическими планками «Антипаника». Функция аварийного открытия прохода турникета реализуется путем автоматического опускания преграждающей планки в вертикальное положение. Это происходит в случае подачи команды от устройства аварийного открытия прохода Fire Alarm или при отключении электропитания турникета.
• Внутри турникета под верхней панелью колпака, изготовленной из радиопрозрачного пластика предусмотрены кронштейны для установки RFID-считывателей карт доступа, также возможна установка другого дополнительного оборудования непосредственно на верхнюю панель колпака турникета.
• Турникет снабжен блоком индикации режимов работы. Кроме этого, в турникете предусмотрен выход для подключения дополнительной внешней индикации.
• Турникет имеет входы для подключения датчика контроля зоны прохода, сирены, а также устройства аварийного открытия прохода Fire Alarm (например, пожарной охранной системы).
• Турникет имеет выход для подключения сигнализации о низком уровне напряжения источника питания.
• В турникете предусмотрено два режима управления – импульсный и потенциальный.
• Механизм турникета обеспечивает автоматический доворот преграждающих планок до исходного положения после каждого прохода.
• После поворота преграждающих планок на угол более 60° их обратный поворот блокируется.
• Электропривод ротора обеспечивает плавную бесшумную работу турникета.
• На турникет подается безопасное для человека напряжение питания – 24 В.
Устройство турникета
Общий вид турникета показан на рис. 2. Номера позиций в тексте настоящего руководства указаны в соответствии с рис. 2 и 3.
Турникет состоит из корпуса (6) с крышкой (1), маховика (4) с тремя преграждающими планками (3) и пульта дистанционного управления. Кроме того, турникет комплектуется кронштейном для крепления на круглых стойках (например, в транспорте) или на стене, в зависимости от желания заказчика. Также турникет может комплектоваться другим специальным оборудованием, не входящим в основной комплект поставки.

1 – колпак; 2 – блок индикации; 3 – планка преграждающая; 4 – маховик; 5 – винты крепления маховика; 6 – корпус турникета; 7 – винты крепления колпака; 8 – передняя панель; 9 – винты крепления передней панели

10 – кабель индикации; 11– плата управления; 12 – плата интерфейса; 13 – механизм аварийного открытия прохода; 14 – привод в сборе; 15 – точка заземления; 16 – стопорное устройство; 17 – отверстия для крепления маховика
Корпус турникета
Доступ к внутренним элементам турникета осуществляется через съемный колпак (1). Фиксация колпака на корпусе турникета осуществляется при помощи 4-х винтов крепления (7) под ключ SW3. При эксплуатации турникета колпак должен быть надет на корпус. Внутри корпуса под колпаком расположены (см. рис. 3): плата управления электроприводом (11), плата интерфейса (12), два кронштейна для крепления бесконтактных считывателей (см. рис. 15) и механизм турникета, включающий в себя:
• привод (14) в сборе с электродвигателем и платой датчика положения маховика;
• электромеханическое стопорное устройство (16) с оптическими датчиками положения стопора;
• механизм аварийного открытия прохода (13) (автоматического опускания преграждающей планки «Антипаника»).
Блок индикации
Для информирования о текущем состоянии и установленном режиме работы турникета на его колпаке (1) расположен блок индикации (2). Блок индикации имеет три пиктографических индикатора:
– индикатор разрешения прохода в одном из направлений (зеленая стрелка)
– индикатор запрета прохода (красный крест)
– индикатор разрешения прохода в другом направлении (зеленая стрелка)
Устройства управления турникетом
Управление турникетом может осуществляться с помощью пульта дистанционного управления, устройства радиоуправления или контроллера СКУД. Указанные устройства могут быть подключены к турникету по отдельности, все вместе (параллельно) или в любой комбинации друг с другом.
Пульт дистанционного управления
Пульт дистанционного управления выполнен в виде небольшого настольного прибора в корпусе из ударопрочного АБС пластика и предназначен для подачи команд оператором при ручном режиме управления турникетом.
На лицевой панели пульта дистанционного управления расположены три кнопки для подачи команд. Средняя кнопка STOP предназначена для подачи команды «Запрет прохода». Левая и правая кнопки LEFT, RIGHT предназначены для подачи команды разблокировки турникета в выбранном направлении. Над кнопками расположены светодиодные индикаторы состояния поворотного механизма турникета. Красный индикатор «Stop» указывает на то, что оба направления прохода заблокированы.
Устройство Fire Alarm
Подключение устройства для подачи команды аварийного открытия прохода производится к контактам FA и GND клеммной колодки X2.1 платы интерфейса в соответствии со схемой электрических соединений турникета (см. рис. 7 и 18). Если устройство Fire Alarm не используется, то между контактами FA и GND платы управления необходимо установить перемычку проводом. При поставке данная перемычка установлена.
Работа турникета по командам устройства Fire Alarm описана в руководстве.
При подаче управляющего сигнала на вход FA турникет переходит в режим аварийного открытия прохода Fire Alarm. В этом режиме все поступающие команды управления турникетом игнорируются. Центральная преграждающая планка автоматически опускается под собственным весом и принимает вертикальное положение, освобождая проход. На блоке индикации крышки (2) обе зеленые стрелки разрешения направления прохода будут мигать, кратковременно сменяясь на красный крест.
Если сигнал Fire Alarm поступит на турникет во время совершения прохода, то на блоках индикации включится индикация режима Fire Alarm, но аварийное открытие прохода произойдет только после доворота преграждающей планки до исходного положения.
После снятия управляющего сигнала Fire Alarm на блоках индикации загорается красный индикатор запрета прохода, и турникет переходит в ждущий режим с опущенной планкой.
Для продолжения работы преграждающую планку необходимо вручную перевести в горизонтальное положение, в котором она фиксируется.
Также аварийное открытие прохода турникета происходит при снятии питающего напряжения (например, при выходе из строя подключенного источника питания).
Управление турникетом от СКУД
Турникет может использоваться в качестве исполнительного устройства при работе в составе СКУД. Выходы контроллера СКУД подключаются к контактам GND, L, ST, R клеммной колодки X2.1 платы интерфейса. Входы контроллера СКУД подключаются к контактам С (Common), Pass A, Pass B выносной клеммной колодки X1.3. Подключение производится в соответствии со схемой электрических соединений турникета.
При необходимости входы контроллера могут быть подключены к контактам READY, DETECT и COM клеммной колодки X5 для отслеживания соответствующих состояний турникета.
При импульсном режиме управление турникетом с помощью контроллера СКУД аналогично управлению от пульта дистанционного управления.
При потенциальном режиме управления для организации однократных проходов рекомендуется снимать управляющий сигнал низкого уровня по факту прохода через турникет, т.е. по началу сигнала PASS соответствующего направления.
Режимы управления турникетом
Доступны два режима управления турникетом – импульсный и потенциальный. В обоих режимах управление турникетом осуществляется подачей команд (т.е. комбинацией управляющих сигналов) на штатные входы управления: L, ST и R и специальный вход управления FA. В зависимости от выбранного режима меняется алгоритм подачи команд управления. Режим управления определяется установленным в положение ON / OFF переключателем SA1 (SETUP) на плате интерфейса (10). Положение переключателя ON – импульсный режим управления, OFF – потенциальный режим управления.
Импульсный режим управления используется для управления турникетом с помощью пульта дистанционного управления, устройства радиоуправления и контроллера СКУД, выходы которых поддерживают импульсный режим управления. Длительность управляющего сигнала при подаче команды управления на штатные входы управления должна быть не менее 100 мс. Время ожидания прохода равно 8 секундам и не зависит от длительности управляющего сигнала (импульса).
Потенциальный режим управления используется для управления турникетом с помощью контроллера СКУД, выходы которого поддерживают потенциальный режим управления. Длительность управляющего входного сигнала должна составлять не менее 100 мс. Время ожидания прохода равно длительности сигнала низкого уровня: если к моменту совершения прохода в разрешенном направлении на входе для данного направления присутствует сигнал низкого уровня, то турникет в данном направлении останется открытым.
Алгоритм работы механизма турникета
Алгоритм работы турникета при импульсном режиме управления в случае однократного прохода в одном из направлений:
1. Исходное положение турникета – привод выключен, горит индикатор запрета прохода, при попытке поворота преграждающих планок на угол более 5° в любом из направлений стопорное устройство блокирует маховик, включается аварийная сигнализация – проход через турникет закрыт.
2. От устройства управления (пульта дистанционного управления, устройства радиоуправления, СКУД) на турникет через входы платы интерфейса поступает команда (комбинация управляющих сигналов) на совершение однократного прохода в одном из направлений.
3. Микроконтроллер, установленный на плате управления (9), обрабатывает поступившие сигналы и формирует команду на механизм турникета для прохода через турникет в нужном направлении (стопор открывается).
4. Микроконтроллер следит за состоянием датчика поворота маховика преграждающих планок, и отсчитывает время, прошедшее с момента нажатия на пульте дистанционного управления кнопки, соответствующей разрешению прохода в нужном направлении.
5. При повороте пользователем преграждающих планок на 10° в санкционированном направлении микроконтроллер дает команду приводу на плавное вращение маховика с планками в направлении прохода до следующего исходного положения, тем самым обеспечивая комфортный проход в заданном направлении. При повороте на угол 60° формируется сигнал PASS А(В) (происходит размыкание контактов PASS А(В) и Common) длительностью 250 мс.
6. После поворота преграждающих планок на 60° возможность вращения в обратную сторону блокируется электроприводом и стопором возможно осуществлять движение только вперёд до следующего исходного положения.
7. При отказе от прохода, т.е. если по истечении 8 секунд с момента разрешения прохода не был осуществлен поворот планок на угол больше 60°, микроконтроллер формирует команду механизму управления на блокирование дальнейшего прохода в данном направлении, при этом привод будет возвращать планки обратно в исходное положение.
8. При достижении преграждающих планок исходного положения (поворот преграждающих планок на 120° или при отказе от прохода на 0°) микроконтроллер переходит в режим ожидания следующей команды.
В режимах работы «Свободный проход…» алгоритм остается аналогичным, только по окончании прохода турникет не блокируется, а ожидает начала нового прохода.
Нештатные ситуации в работе турникета и реакция на них
Турникет позволяет получить информацию о возникновении следующих нештатных ситуаций при его работе:
1. Несанкционированный проход.
2. Задержка в момент прохода длительностью более 10 с.
3. Выход из строя датчика поворота преграждающих планок.
4. Срабатывание датчика контроля зоны прохода).
5. Пропадание питания (понижение ниже допустимого уровня).
В случаях, указанных в п.п. 1 - 4, происходит формирование специального сигнала Alarm путем замыкания контактов A1 и A2 разъёма Х1. Параметры сигналов релейного выхода «Alarm» указаны в руководстве.
При устранении причины, вызвавшей сигнал Alarm, контакты реле «Alarm» размыкаются, сигнал снимается.
К выходу реле «Alarm» может быть подключена сигнальная лампа (зуммер) в кабине водителя, сигнализирующая о нештатной работе турникета.
Во время работы микропроцессор контролирует напряжение питания, подаваемое на турникет, при этом при понижении напряжения (менее 21,8 В) контакты реле «Battery» (LV1 и LV2 клеммной колодки X6 платы интерфейса (10)) будут замкнуты между собой, сигнализируя о пониженном напряжении питания (разряде аккумулятора). При последующем повышении напряжения до 23,6 В контакты реле «Battery» LV1 и LV2 будут разомкнуты, сигнализируя таким образом о наличии номинального напряжения питания (заряда аккумулятора). Параметры сигналов релейного выхода «Battery» указаны в руководстве.
Если в процессе работы произошло падение напряжения ниже порогового значения отключения электроники (17 В), то электроника турникета автоматически отключится от источника питания. При восстановлении напряжения выше порогового значения включения электроники (18 В) произойдёт автоматическое включение электроники турникета.
Монтаж турникета
Монтаж турникета является ответственной операцией, от которой в значительной степени зависит работоспособность и срок службы изделия. Монтаж должен выполняться силами не менее двух человек, имеющих квалификации монтажника и электрика не ниже 3-го разряда. До начала монтажных работ рекомендуется внимательно изучить данный раздел и в дальнейшем следовать изложенным в нем инструкциям.
Рекомендации по подготовке установочной поверхности:
Монтаж турникета можно производить к стойкам (вертикальным трубам) транспортного средства с помощью специального монтажного кронштейна PERCo-MT10.1 или на прочную вертикальную стену с помощью монтажного кронштейна PERCo-MT10.2.
При установке турникета на кронштейны необходимо учитывать высоту его установки. Рекомендуемая высота установки турникета должна составлять примерно 900-950 мм от пола до верхнего края преграждающей планки.
Рекомендации по организации зоны прохода:
Турникет снабжен механизмом доворота преграждающих планок. При повороте планок на угол более 5° происходит доворот преграждающей планки в направлении прохода (при повороте на угол свыше 60° возврат планок в исходное положение невозможен, т.к. происходит блокировка обратного прохода). При повороте преграждающих планок на угол менее 60° по прошествии 8 сек происходит возврат планок в исходное положение.
Также при работе турникета под управлением контроллера СКУД регистрация события прохода осуществляется при повороте преграждающих планок на угол более 60°.
Для обеспечения требуемого угла поворота при установке турникета следуйте рекомендациям, приведенным на рисунке.
При организации зоны прохода желательно предусмотреть дополнительный аварийный выход. Таким выходом может служить, например, поворотная секция ограждения PERCo-BH02 «Антипаника».

При организации точки прохода на проходной также необходимо предусмотреть дополнительный аварийный выход. Таким выходом может служить, например, поворотная секция ограждения PERCo-BH02 «Антипаника».
Порядок монтажа
Расположение клеммных колодок, схема подключения, рекомендации по подготовке установочной поверхности и организации зоны прохода приведены в руководстве пользователя.
При монтаже турникета придерживайтесь следующей последовательности действий:
1. Распакуйте турникет и проверьте комплектность.
2. Произведите монтаж источника питания турникета на отведенное для него место в соответствии с его эксплуатационной документацией.
3. Произведите прокладку всех кабелей в кабельных каналах к месту установки турникета.
4. Выполните разметку и разделку отверстий в полу под анкеры для крепления турникета и кабельного канала к зоне ввода кабелей. Разметку также можно производить непосредственно по основанию монтажной стойки.
5. Проложите кабели в кабельном канале к зоне ввода, длина запаса кабелей должна составлять не менее 1,5 метра.
6. Снимите переднюю панель с корпуса стойки, для чего открутите внизу два винта
7. Закрепите турникет на установочной поверхности при помощи 4-х анкеров PFG IR10-15 (фирма «SORMAT», Финляндия). При установке контролируйте вертикальность стойки турникета при помощи уровня.
8. Снимите колпак с корпуса турникета:
• Отверните ключом SW3 четыре винта крепления колпака. Винты расположены на нижней поверхности корпуса турникета, со стороны маховика.
• Поднимите колпак за боковые грани вверх до половины ее высоты.
• Отсоедините кабель индикации, соединяющий блок индикации турникета с платой интерфейса.
• Аккуратно снимите колпак и положите на ровную устойчивую поверхность.
9. Проложите внутри корпуса турникета кабели и выведите их через отверстия внутри корпуса: кабель питания – к плате управления, остальные кабели – к плате интерфейса. Зафиксируйте кабели внутри корпуса стойки при помощи кабельных стяжек.
10. Вставьте на место переднюю панель и зафиксируйте ее винтами.
11. Подключите кабель питания от источника питания турникета к клеммной колодке X1 платы управления. Подключите провод заземления к точке заземления. Для удобства подключения открутите на несколько оборотов два винта фиксации по бокам платы интерфейса и отодвиньте ее на себя до упора.
12. Подключите кабель ПДУ (устройства РУ или контроллера СКУД) к клеммной колодке X2 платы интерфейса.
13. При необходимости установите внутри турникета под верхней пластиковой панелью колпака бесконтактные считыватели карт доступа. Считыватели монтируются на специальных кронштейнах: сначала кронштейны необходимо снять с шасси колпака, открутив по 2 винта М4 с шайбами, затем установить на кронштейны считыватели и после этого кронштейны установить обратно на шасси.
Примечание: Допустимые размеры встраиваемых RFID-считывателей: 145×70×28 мм.
14. Произведите при необходимости монтаж и подключение дополнительного оборудования: контроллера СКУД, ДКЗП и сирены; устройства Fire Alarm; выносных индикаторов и др..
15. Проверьте правильность и надежность всех электрических соединений. Задвиньте плату интерфейса на место и закрутите винты фиксации. Аккуратно уложите и закрепите все подключенные кабели на горизонтальной полке с отверстиями стяжками из комплекта поставки.
16. Если необходимо перевести турникет в потенциальный режим управления, то установите переключатель SA1-1 платы интерфейса в положение OFF.
17. При необходимости установите более жесткое усилие поворота планок – переведите переключатель SA1-2 платы интерфейса в положение ON (см. рис. 7).
Примечание: «Жесткое» усилие поворота преграждающих планок применяется по желанию заказчика, например, в случае установки турникета на улице в северных районах для компенсации густеющей смазки при низких температурах. При обычных условиях эксплуатации рекомендуется использовать значение усилия поворота планок «мягкое» для более комфортного прохода через турникет.
18. Установите колпак на корпус турникета:
• Оденьте колпак сверху на турникет на половину своей высоты.
• Подключите кабель индикации к блоку индикации турникета и к разъему Х8 (INDICATION) платы интерфейса и опустите колпак до упора. При опускании колпака проследите, чтобы кабель индикации (10) складывался вперед и не защемлялся элементами конструкции. Правильная установка колпака не требует применения больших физических усилий.
• Зафиксируйте колпак четырьмя винтами в нижней части корпуса.
19. Установите маховик с преграждающими планками в следующем порядке:
• Вставьте маховик в соответствующее посадочное место на валу механизма турникета.
• Зафиксируйте маховик тремя винтами с пружинными шайбами; предварительно для надежной фиксации винтов нанесите на нижнюю часть их резьбы немного герметика из комплекта поставки. Затяжка винтов должна обеспечивать надежную фиксацию маховика относительно вала механизма турникета (без люфта и перекосов).
Усилие затяжки винтов маховиков – 15 Нм.
Внимание! Для правильной установки маховика перед окончательной затяжкой винтов необходимо подать питание на турникет, перевести преграждающую планку в горизонтальное положение и с помощью угольника выставить угол в 90° в горизонтальной плоскости между планкой и корпусом турникета.
После завершения монтажа произведите включение и проверку работоспособности турникета.
Эксплуатация турникета
При эксплуатации турникета соблюдайте меры безопасности.
Запрещается:
• Перемещать через зону прохода предметы, превышающие ширину проема прохода.
• Производить рывки и удары по составным частям турникета.
• Разбирать и регулировать узлы, обеспечивающие работу турникета.
• Использовать при чистке турникета вещества, способные вызвать механические повреждения поверхностей и коррозию деталей.
Включение турникета
При включении турникета придерживайтесь следующей последовательности действий:
1. Подключите сетевой кабель источника питания турникета к сети с напряжением и частотой, указанными в паспорте на этот источник питания.
2. Включите источник питания турникета. При установленном импульсном режиме управления автоматически будет подана команда «Запрет прохода», при потенциальном режиме управления «Оба направления закрыты». На блоке индикации появится красный крест (запрет прохода). На ПДУ загорится индикатор, расположенный над кнопкой STOP.
3. Переведите планку преграждающую (3) в рабочее положение, подняв ее вверх до упора.
В этом положении планка автоматически зафиксируется.
4. Проверьте работу ДКЗП и сирены при наличии их в комплекте поставки и соответствующем монтаже. Для этого дождитесь момента, когда погаснет тестовый индикатор внутри ДКЗП (10-50 с после включения питания турникета). После чего поднесите руку к ДКЗП. При срабатывании ДКЗП зазвучит непрерывный звуковой сигнал сирены. Отключение сигнала произойдет через 5 с, либо при нажатии любой кнопки на ПДУ.
Турникет готов к работе
Действия в экстремальных ситуациях
В аварийных и нештатных ситуациях (например, при выходе из строя ИП) зону прохода турникета можно использовать в качестве дополнительного аварийного выхода.
Предусмотрена возможность перевода турникета в режим Fire Alarm от устройства аварийного открытия прохода (прибора пожарной сигнализации, аварийной кнопки и т.д.). В этом режиме преграждающая планка турникета, перекрывающая зону прохода, опускается вниз (принимает вертикальное положение) и освобождает проход в обоих направлениях, на блоке индикации поочередно загораются зеленый (на 1,25 сек) и красный (на 0,25 сек) индикаторы, команды управления от других устройств и ПО игнорируются. Также открытие зоны прохода турникета выполняется автоматически при снятии (пропадании) напряжения питания турникета.
Внимание! Для экстренной эвакуации людей с территории предприятия в случае пожара, стихийных бедствий и других аварийных ситуаций используются соответствующие требованиям безопасности эвакуационные выходы. Таким выходом может служить, например, поворотная секция ограждения PERCo-BH02 «Антипаника».
Бренд турникета | PERCo |
Вид турникета | Турникет |
Тип турникета | Трипод |
Тип корпуса турникета | Однопроходной, Напольный |
Тип привода турникета | Электромоторный |
Исполнение турникета | Уличное (под навесом) |
Материал корпуса турникета | Нержавеющая сталь |
Преграждающие планки/створки | Антипаника, в комплекте |
Антипаника | Автоматическая |
Тип блокировки | Нормально закрытый (НЗ) |
Встроенный картоприемник | Нет |
Встроенные считыватели | Без считывателей |
Пропускная способность | 60 чел/мин |
Пульт управления | 1 шт. в комплекте |
Напряжение питания | 24 В |
Источник питания | В комплект НЕ ВХОДИТ! (приобретается отдельно) |
Потребляемая мощность, макс. | 150 Вт |
Потребляемый ток, макс. | 5.5 А |
Габариты | 800х760х1055 мм |
Ширина перекрываемого прохода | 760 мм |
Ширина прохода | 500 мм |
Вес, кг | 75 |
Рабочая температура | от -40°C до +55°C |
Рабочая влажность | не выше 80% без конденсации |
Класс защиты (IP) | IP42 |
Класс защиты (IK) | IK09 |
Класс изоляции | III |
Цвет | Металл |
Наработка на отказ, не менее | 4 млн. циклов |
Средний срок службы | Не менее 8 лет |
Сертификаты | Транспортной безопасности |
Гарантия | 5 лет |
Страна производства | Россия |
Функция «Быстрый заказ» позволяет покупателю не проходить всю процедуру оформления заказа самостоятельно. Вы заполняете форму, и через короткое время вам перезвонит менеджер магазина. Он уточнит все условия заказа, ответит на вопросы, касающиеся качества товара, его особенностей. А также подскажет о вариантах оплаты и доставки.
По результатам звонка, пользователь либо, получив уточнения, самостоятельно оформляет заказ, укомплектовав его необходимыми позициями, либо соглашается на оформление в том виде, в котором есть сейчас. Получает подтверждение на почту или на мобильный телефон и ждёт доставки.
Оформление заказа в стандартном режиме
Если вы уверены в выборе, то можете самостоятельно оформить заказ, заполнив по этапам всю форму.
Заполнение адреса
Выберите из списка название вашего региона и населённого пункта. Если вы не нашли свой населённый пункт в списке, выберите значение «Другое местоположение» и впишите название своего населённого пункта в графу «Город». Введите правильный индекс.
Доставка
В зависимости от места жительства вам предложат варианты доставки. Выберите любой удобный способ. Подробнее об условиях доставки читайте в разделе «Доставка».
Оплата
Выберите оптимальный способ оплаты. Подробнее о всех вариантах читайте в разделе «Оплата»
Покупатель
Введите данные о себе: ФИО, адрес доставки, номер телефона. В поле «Комментарии к заказу» введите сведения, которые могут пригодиться курьеру, например: подъезды в доме считаются справа налево.
Оформление заказа
Проверьте правильность ввода информации: позиции заказа, выбор местоположения, данные о покупателе. Нажмите кнопку «Оформить заказ».
Наш сервис запоминает данные о пользователе, информацию о заказе и в следующий раз предложит вам повторить к вводу данные предыдущего заказа. Если условия вам не подходят, выбирайте другие варианты.
Если Вы хотите узнать об условиях доставки и оплаты, но не желаете о них читать, то Вы можете позвонить любому нашему сотруднику, и он обязательно Вам поможет.
Покупка за безналичный расчет
При оплате за безналичный расчет наш сотрудник свяжется с Вами, чтобы подтвердить заказ и уточнить сроки и адрес доставки. После оформления заказа сотрудник нашей компании вышлет вам счет, по которому необходимо будет произвести оплату.
После оплаты заказа к Вам приедет наш курьер, который доставит ваш заказ.
Самостоятельно забрать заказ из пунктов самовывоза Вы можете после его оплаты по безналичному расчету. Оплата доставки до пунктов выдачи транспортных компаний производится по тарифам выбранной Вами транспортной компании непосредственно в месте получения заказа.
Самовывоз из офиса нашей компании в Зеленограде, так же возможен после предоплаты по безналичному расчету, и предварительной договоренности с менеджером.
Интернет-магазин выполняет доставку любого товара своей собственной Службой доставки.
Стоимость доставки курьером
Стоимость доставки по Москве, Все товары —750 руб., бесплатная доставка от 25000 руб
Стоимость доставки по Московской области рассчитывается для каждого заказа индивидуально и зависит от суммарного веса товаров заказа и удаленности адреса доставки.
Время доставки
Время доставки согласовывается с менеджером Службы доставки, который обязательно свяжется с вами сразу после того, как вы разместите свой заказ.
Для осуществления доставки в регионы России мы пользуемся услугами компаний СДЭК, ЖелДорЭкспедиция, Автотрейдинг, Деловые Линии. В таком случае, указанными кампаниями взимается стоимость доставки по их внутренним тарифам с заказчика при получении товара.
Самовывоз
Забрать товар самостоятельно и абсолютно бесплатно можно только по адресу: Москва, Зеленоград, Панфиловский проспект, дом 10.
Забрать товар самовывозом можно по любому из адресов самовывоза указанных здесь, стоимость доставки до пункта самовывоза рассчитывается для каждого заказа по тарифам транспортных компаний.



















